LEMON Manuals: Even more car manuals for everyone
Home >> Geo >> 1989 >> Tracker Base, Standard >> Repair and Diagnosis >> Engine Performance >> System >> System/Component Tests >> Fuel System >> Fuel Control >> Cold Start Injector Thermal Timer (Prizm)

Cold Start Injector Thermal Timer (Prizm)

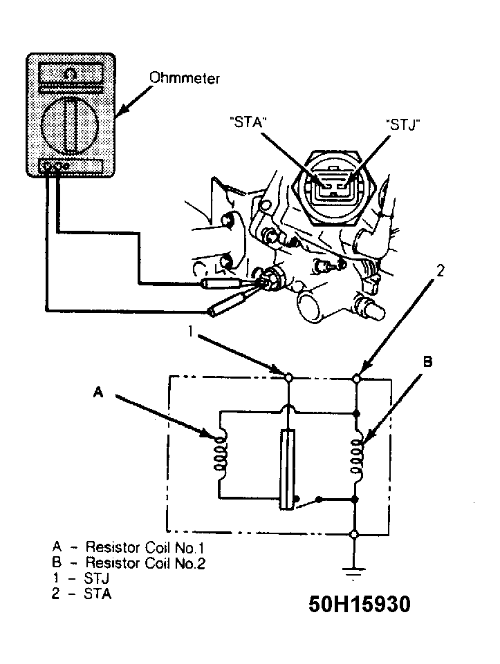
  1. With engine coolant less than 86°F (30°C), disconnect cold start injector thermal timer electrical connector. Using an ohmmeter, ensure resistance across terminals "STJ" and "STA" is 20-40 ohms. See Fig 1 .
  2. Start engine and bring to normal operating temperature. Ensure resistance across terminals "STJ" and "STA" is 40-60 ohms. Ensure resistance across terminals "STA" and ground is 20-80 ohms. Replace thermal timer if not as specified.
Fig 1: Cold Start Injector Thermal Timer (Prizm)
G50H15930Courtesy of GENERAL MOTORS.