LEMON Manuals: Even more car manuals for everyone
Home >> Geo >> 1989 >> Spectrum 2D Hatchback, Standard >> Repair and Diagnosis >> Engine Performance >> System >> Tests W/Codes >> Code 23, M/C Solenoid >> Code 23, Mixture Control Solenoid Circuit Open Or Grounded

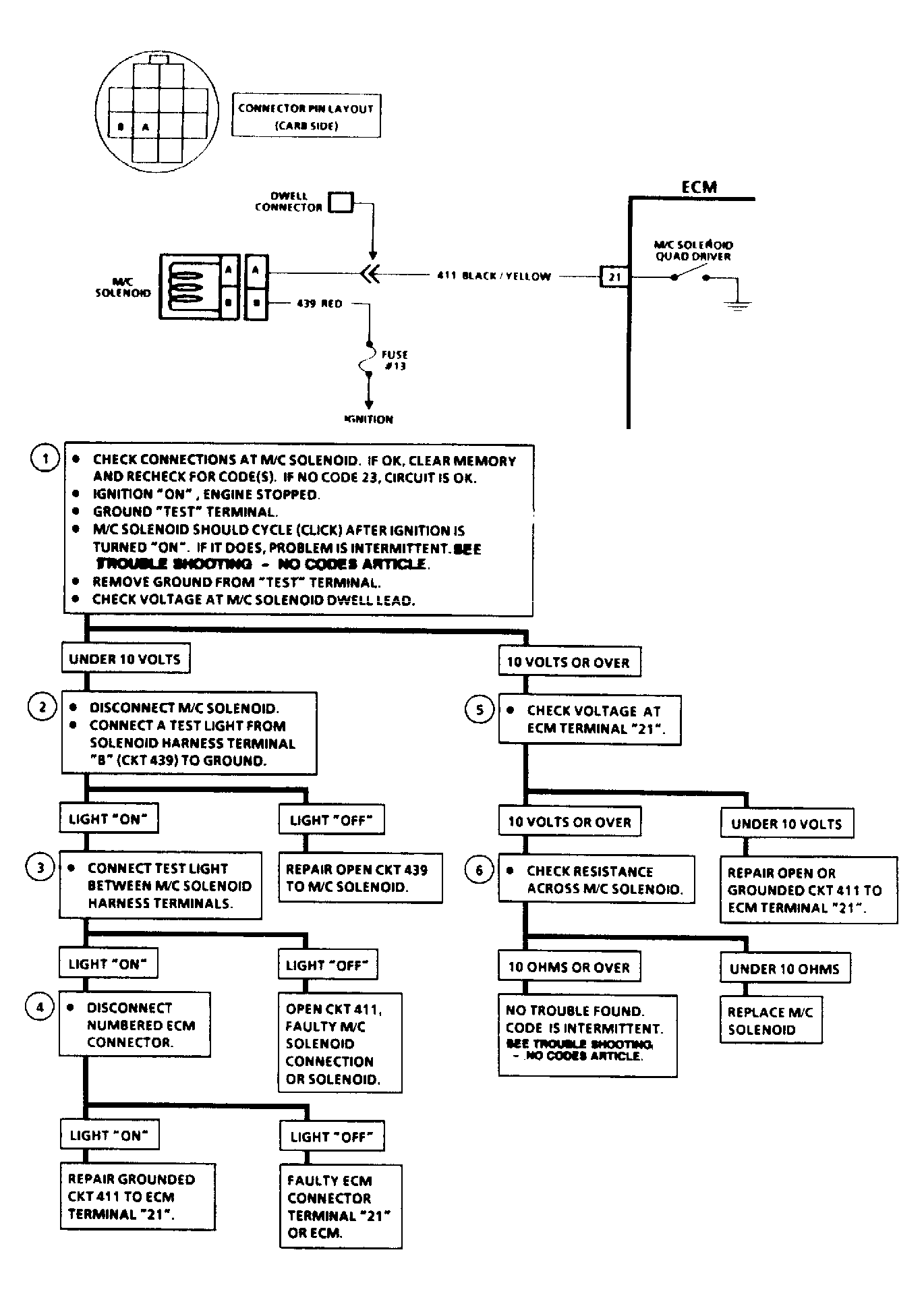
Code 23, Mixture Control Solenoid Circuit Open Or Grounded

Code 23 indicates that ECM has monitored the voltage at ECM terminal No. 21 and that it remains low, instead of rising and falling as M/C solenoid is turned on and off. This could be caused by an open in the M/C solenoid circuit or a ground on ECM side of M/C solenoid. An open would cause a full rich condition, while a short would cause a full lean condition.

NOTE: Test numbers refer to test numbers on diagnostic chart.
  1. Checks for a complete circuit from the battery through the M/C solenoid dwell lead. Voltage here should be battery voltage. Battery voltage indicates a possible open in circuit No. 411 between dwell connector and ground. A zero voltage reading could be caused by an open between the dwell connector and ignition source or a ground on the ECM side of M/C solenoid.
  2. This checks for battery voltage on circuit No. 439 to ignition source. Test light should be between ignition source and ground.
  3. This step determines whether fault is M/C solenoid, grounded circuit No. 411 to ECM or faulty ECM. A light would indicate a grounded circuit No. 411 to ECM terminal No. 21 or a faulty ECM. A voltmeter can't be used because it is normal to have enough current flow through the ECM even with circuit open to make a voltmeter read, but not enough to light a test light.
  4. This checks for a grounded circuit No. 411 (solenoid to ECM circuit). A normal circuit would read about battery voltage at ECM terminal No. 21.
  5. This checks for an open circuit No. 411 (solenoid to ECM circuit). A normal circuit would read about battery voltage at ECM terminal No. 21.
  6. A normal solenoid has approximately 20-32 ohms resistance. The ECM does not have to be replaced if the M/C solenoid resistance is under 10 ohms. The ECM is equipped with a fault protected quad-driver, so replace the M/C solenoid only.
Fig 1: Code 23, Circuit Wiring Diagram & Flow Chart
G121670Courtesy of GENERAL MOTORS CORP.