LEMON Manuals: Even more car manuals for everyone
Home >> Genesis >> 2019 >> G70 3.3T Design, AWD >> Repair and Diagnosis >> Engine Performance >> Engine Control Systems >> Engine Control/Fuel System - General Information - 3.3L >> Troubleshooting >> Basic Troubleshooting >> Electrical Circuit Inspection Procedure

Electrical Circuit Inspection Procedure

  1. Procedures for Open Circuit
    • Continuity Check
    • Voltage Check

    If an open circuit occurs (as seen in [FIG. 1]), it can be found by performing Step 2 (Continuity Check Method) or Step  3 (Voltage Check Method) as shown below.

    G13543252Courtesy of HYUNDAI MOTOR AMERICA
  2. Continuity Check Method
    NOTE:
    • When measuring the resistance, lightly shake the wire harness vertically or horizontally.

    Specification (Resistance) 

    1Ω or less → Normal Circuit 

    1 MΩ or Higher → Open Circuit

    1. Disconnect connectors (A) and (C), and measure resistance between connectors (A) and (C) as shown in [FIG. 2].

      In [FIG. 2], if the measured resistances in lines 1 and 2 are "over 1 MΩ" and "below 10". respectively, line 1 has an open circuit. (Line 2 is normal.) To find the exact broken point, check the sub line of line 1 as described in the next step.

      G13543253Courtesy of HYUNDAI MOTOR AMERICA
    2. Disconnect connector (B), and measure the resistances between connectors (C) and (B1), and between (B2) and (A) as shown in [FIG. 3].

      In this case, the measured resistance between connectors (C) and (B1) is higher than 1 MΩ and the open circuit is between terminal 1 of connector (C) and terminal 1 of connector (B1).

    G13543254Courtesy of HYUNDAI MOTOR AMERICA
  3. Voltage Check Method
    1. With each connector still connected, measure the voltage between the chassis ground and terminal 1 of each of connectors (A), (B) and (C) as shown in [FIG. 4].

      The measured voltages of connectors are 5V, 5V and OV respectively. So the open circuit is between connectors (C) and (B).

    G13543255Courtesy of HYUNDAI MOTOR AMERICA
    • Short Circuit Test
    1. Test Method for Short to Ground Circuit
      • Continuity Check with Chassis Ground

        If short to ground circuit occurs as shown in [FIG. 5], the broken point can be found by performing Step 2 (Continuity Check Method with Chassis Ground) as shown below.

      G13543256Courtesy of HYUNDAI MOTOR AMERICA
    2. Continuity Check Method (with Chassis Ground)
      NOTE:
      • Lightly shake the wire harness vertically or horizontally when measuring the resistance.

      Specification (Resistance) 

      1 Ω or less → Short to Ground Circuit

      1MΩ or Higher → Normal Circuit

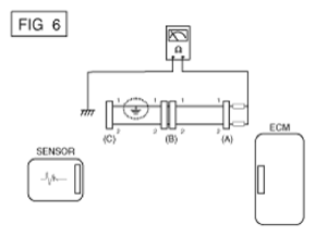
      1. Disconnect connectors (A) and (C), and measure the resistance between connector (A) and Chassis Ground as shown in [FIG. 6].

        If the measured resistances in lines 1 and 2 are "below 1Ω" and "over 1 MΩ" respectively, line 1 has an open circuit. (Line 2 is normal.) To find the exact broken point, check the sub line of line 1 as described in the next step.

        G13543257Courtesy of HYUNDAI MOTOR AMERICA
      2. Disconnect connector (B), and measure the resistances between connector (A) and chassis ground, and between (B1) and chassis ground as shown in [FIG. 7].

        The measured resistance between connector (B1) and chassis ground is 1Ω or less. The short to ground circuit is between terminal 1 of connector (C) and terminal 1 of connector (B1).

    G13543258Courtesy of HYUNDAI MOTOR AMERICA
    • Voltage Drop Test

    This test checks for voltage drop along a wire, or through a connection or a switch.

    1. Connect the positive lead of a voltmeter to the end of the wire (or to the side of the connector or switch) closest to the battery.
    2. Connect the negative lead to the other end of the wire (or the other side of the connector or switch).
    3. Operate the circuit.
    4. The voltmeter will show the difference in voltage between the two points. A difference, or drop of more than 0.1 volts (50 mV in 5V circuits), may indicate a problem. Check the circuit for loose or dirty connections.
G13543259Courtesy of HYUNDAI MOTOR AMERICA