Electrical Circuit Inspection Procedure
- Open Circuit Test
- Procedures for Open Circuit
- Continuity Check
- Voltage Check
If an open circuit occurs (as seen in [Figure below]), it can be found by performing Step 2 (Continuity Check Method) or Step 3 (Voltage Check Method) as shown below.
- Continuity Check MethodNOTE:
- When measuring the resistance, lightly shake the wire harness vertically or horizontally.
Specification (Resistance)
1Ω or less → Normal Circuit
1 MΩ or Higher → Open Circuit
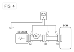
- Disconnect connectors (A) and (C), and measure resistance between connectors (A) and (C) as shown in [Figure below].
In [Figure below], if the measured resistances in lines 1 and 2 are "over 1 MΩ" and "below 1Ω" respectively, line 1 has an open circuit. (Line 2 is normal.) To find the exact broken point, check the sub line of line 1 as described in the next step.
- Disconnect connector (B), and measure the resistances between connectors (C) and (B1), and between (B2) and (A) as shown in [Figure below].
In this case, the measured resistance between connectors (C) and (B1) is higher than 1 MΩ and the open circuit is between terminal 1 of connector (C) and terminal 1 of connector (B1).
- Voltage Check Method
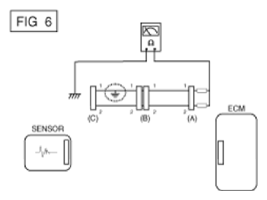
- With each connector still connected, measure the voltage between the chassis ground and terminal 1 of each of connectors (A), (B) and (C) as shown in [Figure below].
The measured voltages of connectors are 5V, 5V and 0V respectively. So the open circuit is between connectors (C) and (B).
- With each connector still connected, measure the voltage between the chassis ground and terminal 1 of each of connectors (A), (B) and (C) as shown in [Figure below].
- Procedures for Open Circuit
- Short Circuit Test
- Test Method for Short to Ground Circuit
- Continuity Check with Chassis Ground
If short to ground circuit occurs as shown in [Figure below], the broken point can be found by performing Step 2 (Continuity Check Method with Chassis Ground) as shown below.
- Continuity Check Method (with Chassis Ground)NOTE:
- Lightly shake the wire harness vertically or horizontally when measuring the resistance.
Specification (Resistance)
1Ω or less → Short to Ground Circuit
1MΩ or Higher → Normal Circuit
- Disconnect connectors (A) and (C), and measure the resistance between connector (A) and Chassis Ground as shown in [Figure below].
If the measured resistances in lines 1 and 2 are "below 10" and "over 1 MΩ" respectively, line 1 has an open circuit. (Line 2 is normal.) To find the exact broken point, check the sub line of line 1 as described in the next step.
- Disconnect connector (B), and measure the resistances between connector (A) and chassis ground, and between (B1) and chassis ground as shown in [Figure below].
The measured resistance between connector (B1) and chassis ground is 10 or less. The short to ground circuit is between terminal 1 of connector (C) and terminal 1 of connector (B1).
- Test Method for Short to Ground Circuit
- Voltage Drop Test
This test checks for voltage drop along a wire, or through a connection or a switch.
- Connect the positive lead of a voltmeter to the end of the wire (or to the side of the connector or switch) closest to the battery.
- Connect the negative lead to the other end of the wire (or the other side of the connector or switch).
- Operate the circuit.
- The voltmeter will show the difference in voltage between the two points. A difference, or drop of more than 0.1 volts (50 mV in 5V circuits), may indicate a problem. Check the circuit for loose or dirty connections.