LEMON Manuals: Even more car manuals for everyone
Home >> GMC >> 2021 >> Terrain SL >> Repair and Diagnosis >> External Pages >> Different car >> Section 54 (Component Connector End Views (A3L-B61P)) >> Component Connector End Views >> B60 Passenger Presence Sensor (UHH-AL0)

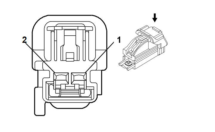
B60 Passenger Presence Sensor (UHH-AL0)

WARNING: This page is about a different car, the 2020 GMC Terrain and 2020 Chevrolet Equinox. However, it is still accessible from the selected car via links, so may be relevant.
GM1856792Courtesy of GENERAL MOTORS COMPANY
Connector Part Information
  • Harness Type: Passenger Seat
  • OEM Connector: 7283-6443-40
  • Service Connector: Service by Harness - See Part Catalog
  • Description: 2-Way F 1.5 YESC Series (L-GY)
Terminal Part Information

Terminal Type ID Terminated Lead Diagnostic Test Probe Terminal Removal Tool Service Terminal Tray Name Core Crimp Insulation Crimp
I Not Required J-35616-2A (GY) No Tool Required Not Required Not Required Not Required Not Required
Pin Size Color Circuit Function Terminal Type ID Option
1 0.5 OG/BN 7571 Passenger Seat Belt Reminder Signal I -
2 0.5 BK/OG 1361 Passenger Seat Belt Switch Low Reference I -