LEMON Manuals: Even more car manuals for everyone
Home >> GMC >> 2021 >> Terrain SL >> Repair and Diagnosis >> External Pages >> Different car >> Section 54 (Component Connector End Views (A3L-B61P)) >> Component Connector End Views >> B1 A/C Refrigerant Pressure Sensor

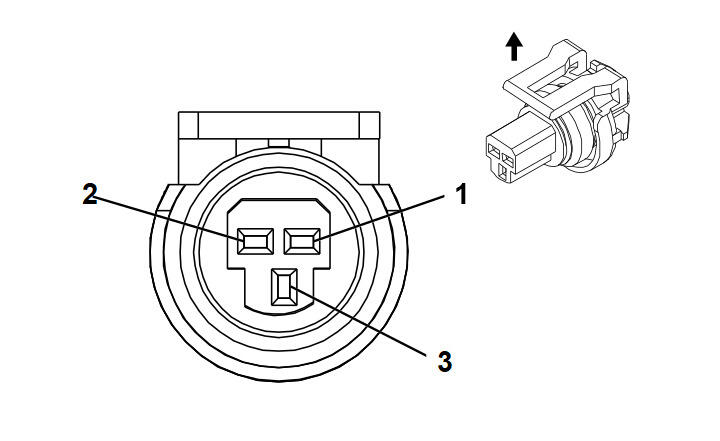
B1 A/C Refrigerant Pressure Sensor

WARNING: This page is about a different car, the 2020 GMC Terrain and 2020 Chevrolet Equinox. However, it is still accessible from the selected car via links, so may be relevant.
GM2909191Courtesy of GENERAL MOTORS COMPANY
Connector Part Information
  • Harness Type: Cooling Fan
  • OEM Connector: 13582156
  • Service Connector: Service by Harness - See Part Catalog
  • Description: 3-Way F 150 GT Series, Sealed (BK)
Terminal Part Information

Terminal Type ID Terminated Lead Diagnostic Test Probe Terminal Removal Tool Service Terminal Tray Name Core Crimp Insulation Crimp
I Not Required J-35616-14 (GN) No Tool Required Not Required Not Required Not Required Not Required
Pin Size Color Circuit Function Terminal Type ID Option
1 0.35 BK/GN 580 Engine Control Sensors Low Reference 2 I -
2 0.35 BN/RD 2700 A/C Pressure Sensor 5V Reference I -
3 0.35 GN 380 A/C Refrigerant Pressure Sensor Signal I -