LEMON Manuals: Even more car manuals for everyone
Home >> GMC >> 2021 >> Terrain SL >> Repair and Diagnosis >> External Pages >> Different car >> Section 226 (Component Connector End Views (K40D - M35D)) >> Component Connector End Views >> K40D Seat Memory Control Module - Driver X2

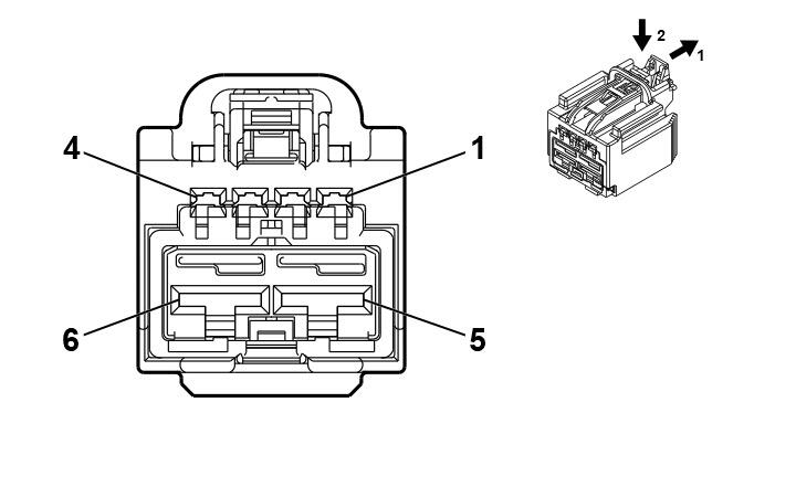
K40D Seat Memory Control Module - Driver X2

WARNING: This page is about a different car, the 2021 Buick Enclave. However, it is still accessible from the selected car via links, so may be relevant.
GM5355899Courtesy of GENERAL MOTORS COMPANY
Connector Part Information
  • Harness Type: Driver Seat
  • OEM Connector: 7289-9870-30
  • Service Connector: Service by Harness -
  • Description: 6-Way F 1.5, 6.3 YESC Series (BK)
Terminal Part Information

Terminal Type ID Terminated Lead Diagnostic Test Probe Terminal Removal Tool
I Not required J-35616-2A (GY) No Tool Required
II Not required J-35616-42 (RD) No Tool Required
Pin Size Color Circuit Function Terminal Type ID Option
1 0.35 GN 5060 Low Speed GMLAN Serial Data I -
2 - - - Not Occupied - -
3 0.35 GN / WH 7530 Driver Seat Memory Control Module LIN Bus 1 I -
4 - - - Not Occupied - -
5 2 BK 750 Ground II -
6 - - - Not Occupied - -