LEMON Manuals: Even more car manuals for everyone
Home >> GMC >> 2021 >> Terrain SL >> Repair and Diagnosis >> External Pages >> Different car >> Section 225 (Component Connector End Views (K9 - K40D)) >> Component Connector End Views >> K33 HVAC Control Module X1

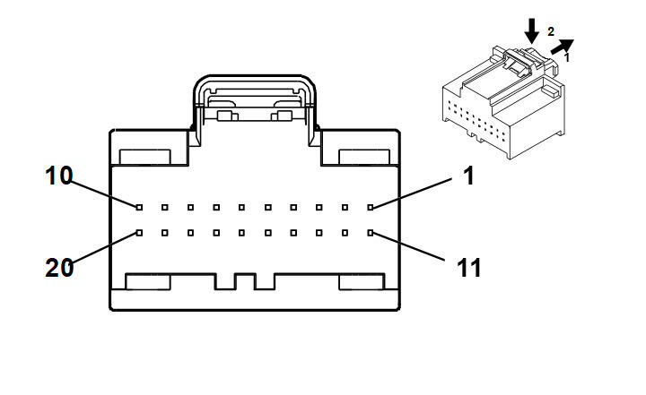
K33 HVAC Control Module X1

WARNING: This page is about a different car, the 2021 Buick Enclave. However, it is still accessible from the selected car via links, so may be relevant.
GM5109511Courtesy of GENERAL MOTORS COMPANY
Connector Part Information
  • Harness Type: Instrument Panel
  • OEM Connector: 13525993
  • Service Connector: 13525993
  • Description: 20-Way F 0.64 Series (GN)
Terminal Part Information

Terminal Type ID Terminated Lead Diagnostic Test Probe Terminal Removal Tool
I 13584547 J-35616-64B (LT BU) J-38125-215A
Pin Size Color Circuit Function Terminal Type ID Option
1 - - - Not Occupied - -
2 0.35 GY / GN 7565 Windshield Temperature Sensor Signal I -
3 - - - Not Occupied - -
4 0.35 BU / WH 734 Inside Air Temperature Sensor Signal I CJ2
5 0.35 YE / BU 3197 Intake Air Humidity and Temperature Sensor Signal I -
6 0.35 YE / RD 597 5V Reference I -
7 0.35 BK / BU 7566 Windshield Temperature and Inside Moisture Sensor Low Reference I -
8 - 11 - - - Not Occupied - -
12 0.35 GY / BU 7564 Humidity Sensor Signal 2 I -
13 - - - Not Occupied - -
14 0.35 GY / BU 590 Driver Solar Sensor Signal I CJ2
15 - 17 - - - Not Occupied - -
18 0.35 BN 404 Upper Duct Air Temperature Sensor Signal I C69
19 0.35 BN / BK 405 Lower Duct Air Temperature Sensor Signal I C69
20 - - - Not Occupied - -