LEMON Manuals: Even more car manuals for everyone
Home >> GMC >> 2021 >> Terrain SL >> Repair and Diagnosis >> External Pages >> Different car >> Section 223 (Component Connector End Views (A7 - B174G)) >> Component Connector End Views >> B71L Liftgate Object Sensor - Left

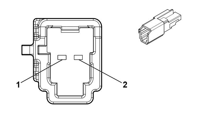
B71L Liftgate Object Sensor - Left

WARNING: This page is about a different car, the 2021 Buick Enclave. However, it is still accessible from the selected car via links, so may be relevant.
GM5355341Courtesy of GENERAL MOTORS COMPANY
Connector Part Information
  • Harness Type: Liftgate
  • OEM Connector: 13530128
  • Service Connector: Service by Harness -
  • Description: 2-Way M 1.2 MCON Series (BK)
Terminal Part Information

Terminal Type ID Terminated Lead Diagnostic Test Probe Terminal Removal Tool
I Not required J-35616-17 (LT GN) No Tool Required
Pin Size Color Circuit Function Terminal Type ID Option
1 0.5 GY / BK 5802 Liftgate Object Sensor Signal I (TB5/TC2)
2 0.5 BK / VT 5801 Liftgate Object Sensor Low Reference I (TB5/TC2)