LEMON Manuals: Even more car manuals for everyone
Home >> GMC >> 2019 >> Terrain SL >> Repair and Diagnosis >> External Pages >> Different car >> Section 654 (Component Connector End Views (K160 - M50P)) >> Component Connector End Views >> K219 Lighting Control Module X1

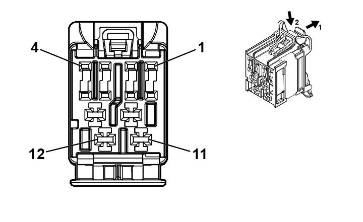
K219 Lighting Control Module X1

WARNING: This page is about a different car, the 2022 Cadillac CT5. However, it is still accessible from the selected car via links, so may be relevant.
GM5203784Courtesy of GENERAL MOTORS COMPANY
Connector Part Information
  • Harness Type:Forward Lamp Wiring Harness
  • OEM Connector: 33382115
  • Service Connector: 13509990
  • Description: 12-Way F 1.2, 2.8 stAK50h Series (L-PU)
Terminal Part Information

Terminal Type ID Terminated Lead Diagnostic Test Probe Terminal Removal Tool
I 84729890 J-35616-12 (BU) J-38125-553
II 87814662 J-35616-4A (PU) J-38125-557
Pin Size Color Circuit Function Terminal Type ID Option
1 0.5 WH/YE 1204 Left Park Lamp Control 2 I -
2 - - - Not Occupied - -
3 0.5
0.5
GY/BU
BU
7538
2745
Left Front DRL Control
Left Front Lamp Assembly 2 Supply Voltage
I
I
-T87
T87-TR7
4 - - - Not Occupied - -
5 0.5 BU/WH 1314 Left Front Turn Signal Lamp Control I -
6 0.35
0.5
WH/YE
GN
1254
2746
Left Front Park Lamp Control
Left Front Lamp Assembly Control
I
I
-T87
T87-TR7
7 0.5 BU/BN 7539 Right Front DRL Control I -
8 0.5 YE/WH 58 Right Cornering Lamp Control I -
9 1 RD/WH 5740 Battery Positive Voltage II -
10 0.5 YE 712 Left Headlamp Low Beam Control II -
11 - - - Not Occupied - -
12 0.5 WH 711 Left Headlamp High Beam Control II -