LEMON Manuals: Even more car manuals for everyone
Home >> GMC >> 2019 >> Terrain SL >> Repair and Diagnosis >> External Pages >> Different car >> Section 653 (Component Connector End Views (K71 - K157)) >> Component Connector End Views >> K124 Image Processing Module X1 (UGN)

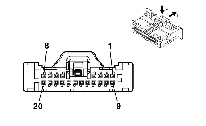
K124 Image Processing Module X1 (UGN)

WARNING: This page is about a different car, the 2022 Cadillac CT5. However, it is still accessible from the selected car via links, so may be relevant.
GM5200955Courtesy of GENERAL MOTORS COMPANY
Connector Part Information
  • Harness Type:Body Wiring Harness
  • OEM Connector: 35068196
  • Service Connector: 84769280
  • Description: 20-Way F Mini 50 Series (BK)
Terminal Part Information

Terminal Type ID Terminated Lead Diagnostic Test Probe Terminal Removal Tool
I 84944580 EL-35616-58 (BK) EL-38125-58
Pin Size Color Circuit Function Terminal Type ID Option
1 0.35 BK/WH 1651 Signal Ground I -
2 0.35 RD/YE 6540 Battery Positive Voltage I -
3 - 4 - - - Not Occupied - -
5 0.35 WH 4986 AUTOSAR CAN Bus [-] 1 Serial Data I -
6 0.35 WH 4986 AUTOSAR CAN Bus [-] 1 Serial Data I -
7 0.35 BU 4987 AUTOSAR CAN Bus [+] 1 Serial Data I -
8 0.35 BU 4987 AUTOSAR CAN Bus [+] 1 Serial Data I -
9 - 17 - - - Not Occupied - -
18 0.35 WH 4986 AUTOSAR CAN Bus [-] 1 Serial Data I -
19 0.35 BU 4987 AUTOSAR CAN Bus [+] 1 Serial Data I -
20 - - - Not Occupied - -