LEMON Manuals: Even more car manuals for everyone
Home >> GMC >> 2019 >> Terrain SL >> Repair and Diagnosis >> External Pages >> Different car >> Section 478 (Component Connector End Views (P2-Q40A)) >> Component Connector End Views >> P2 Automatic Transmission Control Indicator

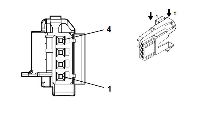
P2 Automatic Transmission Control Indicator

WARNING: This page is about a different car, the 2022 Cadillac CT4. However, it is still accessible from the selected car via links, so may be relevant.
GM5092142Courtesy of GENERAL MOTORS COMPANY
Connector Part Information
  • Harness Type: Front Floor Console Wiring Harness
  • OEM Connector: 35159691
  • Service Connector: Service by Harness - See Part Catalog
  • Description: 4-Way F 0.64 MQS Series
Terminal Part Information

Terminal Type ID Terminated Lead Diagnostic Test Probe Terminal Removal Tool
I Not required J-35616-64B (L-BU) No Tool Required
Pin Size Color Circuit Function Terminal Type ID Option
1 0.35 GN / VT 4759 Transmission Shift Lever Position Indicator 2 Control I -
2 0.35 GN / BU 6133 Body Control Module LIN Bus 2 I -
3 0.35 BK 1450 Ground I -
4 - - - Not Occupied - -