LEMON Manuals: Even more car manuals for everyone
Home >> GMC >> 2019 >> Terrain SL >> Repair and Diagnosis >> External Pages >> Different car >> Section 446 (Component Connector End Views (B34-B233LF)) >> Component Connector End Views >> B174W Front View Camera - Windshield

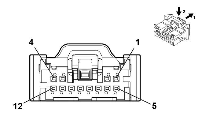
B174W Front View Camera - Windshield

WARNING: This page is about a different car, the 2022 Cadillac CT4. However, it is still accessible from the selected car via links, so may be relevant.
GM5360826Courtesy of GENERAL MOTORS COMPANY
Connector Part Information
  • Harness Type: Roof Wiring Harness
  • OEM Connector: 35068239
  • Service Connector: 13529935
  • Description: 12-Way F 050 CTS Series (BK)
Terminal Part Information

Terminal Type ID Terminated Lead Diagnostic Test Probe Terminal Removal Tool
I 84944580 EL-35616-58 (BK) EL-38125-58
Pin Size Color Circuit Function Terminal Type ID Option
1 0.35 BK 2350 Ground I -
2 - - - Not Occupied - -
3 0.35 RD / YE 6540 Battery Positive Voltage I -
4 - - - Not Occupied - -
5 0.35
0.35
BU / YE
BU / GY
4979
4105
AUTOSAR CAN Bus [+] 2 Serial Data
AUTOSAR CAN Bus [+] 8 Serial Data
I
I
- (UGN/ULK/UVZ)
(UGN-UKL/UVZ-UKL)
6 0.35
0.35
WH
WH / GY
4978
4104
AUTOSAR CAN Bus [-] 2 Serial Data
AUTOSAR CAN Bus [-] 8 Serial Data
I
I
- (UGN/ULK/UVZ)
(UGN-UKL/UVZ-UKL)
7 0.35
0.35
BU / YE
BU / GY
4979
4105
AUTOSAR CAN Bus [+] 2 Serial Data
AUTOSAR CAN Bus [+] 8 Serial Data
I
I
- (UGN/ULK/UVZ)
(UGN-UKL/UVZ-UKL)
8 0.35
0.35
WH
WH / GY
4978
4104
AUTOSAR CAN Bus [-] 2 Serial Data
AUTOSAR CAN Bus [-] 8 Serial Data
I
I
- (UGN/ULK/UVZ)
(UGN-UKL/UVZ-UKL)
9 - 12 - - - Not Occupied - -