LEMON Manuals: Even more car manuals for everyone
Home >> GMC >> 2019 >> Terrain SL >> Repair and Diagnosis >> External Pages >> Different car >> Section 446 (Component Connector End Views (B34-B233LF)) >> Component Connector End Views >> B172LF Front Disc Brake Pad Wear Sensor - Left

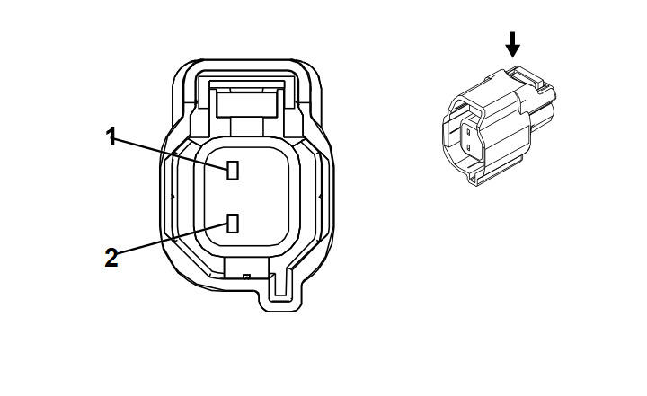
B172LF Front Disc Brake Pad Wear Sensor - Left

WARNING: This page is about a different car, the 2022 Cadillac CT4. However, it is still accessible from the selected car via links, so may be relevant.
GM2900396Courtesy of GENERAL MOTORS COMPANY
Connector Part Information
  • Harness Type: Forward Lamp Wiring Harness
  • OEM Connector: 15503634
  • Service Connector: 19366856
  • Description: 2-Way F 1.5 Series, Sealed (L-GY)
Terminal Part Information

Terminal Type ID Terminated Lead Diagnostic Test Probe Terminal Removal Tool
I Not required J-35616-2A (GY) No Tool Required
Pin Size Color Circuit Function Terminal Type ID Option
1 0.35
0.35
WH / BU
BN / BU
1611
1602
Right Rear Brake Pad Wear Sensor 1 Signal
Front Brake Pad Wear Sensor Signal
I
I
J6G
-J6G
2 0.35 BN 1613 Right Front Brake Pad Wear Sensor 2 Signal I J6G