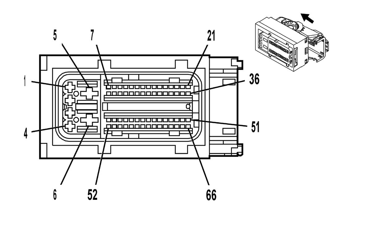
K20 Engine Control Module X1 (LH7)
WARNING: This page is about a different car, the 2018 GMC Terrain and 2018 Chevrolet Equinox. However, it is still accessible from the selected car via links, so may be relevant.
Connector Part Information
|
Terminal Part Information
| Terminal Type ID | Terminated Lead | Diagnostic Test Probe | Terminal Removal Tool | Service Terminal | Tray Name | Core Crimp | Insulation Crimp |
|---|---|---|---|---|---|---|---|
| I | 13579752 | J-35616-4A (PU) | J-38125-36 | 4-964286-1 | Lear 16 | E | 1 |
| II | 13579752 | J-35616-4A (PU) | J-38125-36 | Not Available | Not Available | Not Available | Not Available |
| III | 13584448 | J-35616-64B (LT BU) | J-38125-12A | 1719532-5 | Lear 7 | H | H |
| IV | 13584530 | J-35616-4A (PU) | J-38125-36 | 4-964273-1 | Yazaki 15 | C | 5 |
| V | 19369848 | J-35616-64B (LT BU) | J-38125-12A | 1719532-5 | Lear 7 | H | H |
| Pin | Size | Color | Circuit | Function | Terminal Type ID | Option |
|---|---|---|---|---|---|---|
| 1 | 2.5 | VT/BU | 5290 | Powertrain Main Relay Fused Supply 1 | IV | LH7 |
| 2 | 0.5 | VT/BU | 5291 | Powertrain Main Relay Fused Supply 2 | II | LH7 |
| 3 | 1 | VT/BU | 5292 | Powertrain Main Relay Fused Supply 3 | I | LH7 |
| 4 | 1 | RD/WH | 140 | Battery Positive Voltage | I | LH7 |
| 5 | 6 | BN/BU | 104 | Glow Plug Control | V | LH7 |
| 6 | 6 | BK/WH | 451 | Signal Ground | V | LH7 |
| 7 | 0.5 | VT/YE | 5985 | Accessory Wakeup Serial Data | IV | LH7 |
| 8 | 0.5 | GY | 8000 | Blunt Cut | III | LH7 |
| 9 | 0.5 | GY | 8001 | Blunt Cut | IV | LH7 |
| 10 | 0.35 | YE | 5530 | Hood Open Switch Signal | III | KL9+LH7 |
| 11 | 0.5 | GY | 8002 | Blunt Cut | IV | LH7 |
| 12 | 0.5 | GY | 8003 | Blunt Cut | IV | LH7 |
| 13 | 0.35 | WH/RD | 1164 | Accelerator Pedal Position 5V Reference 1 | IV | LH7 |
| 14 | 0.35 | BN/RD | 1274 | Accelerator Pedal Position 5V Reference 2 | III | LH7 |
| 15 | 0.35 | GN/WH | 1162 | Accelerator Pedal Position Signal 2 | IV | LH7 |
| 16 | 0.35 | BK/VT | 1272 | Accelerator Pedal Position Low Reference 2 | IV | LH7 |
| 17 | 0.35 | WH/BK | 2366 | Cooling Fan Control Relay Speed Signal | IV | LH7 |
| 18 | 0.35 | BN/WH | 419 | Check Engine Indicator Control | III | LH7 |
| 19 | 0.35 | GN/BN | 507 | Wait To Start Indicator Control | III | LH7 |
| 20 | 0.5 | GY | 8004 | Blunt Cut | IV | LH7 |
| 21 | 0.5 | YE | 2928 | Fuel Metering Valve High Control | IV | LH7 |
| 22 | 0.5 | VT/GN | 439 | Run/Crank Ignition 1 Voltage | IV | LH7 |
| 23 | 0.35 | WH/BU | 6311 | Cruise/ETC/TCC Brake Signal | IV | LH7 |
| 24 | 0.5 | WH/GY | 1786 | Transmission Park/Neutral Signal 1 | III | - |
| 25 | 0.5 | GN/WH | 492 | Mass Air Flow Sensor Signal | III | - |
| 26 | 0.5 | GY | 8005 | Blunt Cut | IV | LH7 |
| 27 | 0.35 | BK/BU | 1271 | Accelerator Pedal Position Low Reference 1 | IV | LH7 |
| 28 | 0.35 | YE/WH | 1161 | Accelerator Pedal Position Signal 1 | IV | LH7 |
| 29 | 0.5 | GY | 8006 | Blunt Cut | IV | LH7 |
| 30 | 0.5 | GY | 8007 | Blunt Cut | III | LH7 |
| 31 | 0.5 | GY | 8008 | Blunt Cut | IV | LH7 |
| 32 | 0.5 | GY | 8009 | Blunt Cut | IV | LH7 |
| 33 | 0.35 | WH/GY | 459 | A/C Compressor Clutch Relay Control | IV | LH7 |
| 34 | 0.5 | GY | 8010 | Blunt Cut | IV | LH7 |
| 35 | 0.5 | GY | 2022 | Coolant Pump Control | IV | LH7 |
| 36 | 0.5 | BN/BK | 2929 | Fuel Metering Valve Low Control | III | - |
| 37 | 0.5 0.5 |
WH GY |
7494 7494 |
High Speed GMLAN Serial Data (-) 3 High Speed GMLAN Serial Data (-) 3 |
IV III |
EPH+LH7 -KL9 |
| 38 | 0.5 | GY | 8011 | Blunt Cut | III | LH7 |
| 39 | 0.5 | WH | 4499 | High Speed GMLAN Serial Data (-) 7 | IV | LH7+NDE |
| 40 | 0.5 | WH | 2501 | High Speed GMLAN Serial Data (-) 1 | III | - |
| 41 | 0.5 | GY | 8012 | Blunt Cut | IV | LH7 |
| 42 | 0.5 | GY | 8013 | Blunt Cut | IV | LH7 |
| 43 | 0.35 | BK/YE | 5382 | Brake Position Sensor Low Reference | III | LH7 |
| 44 | 0.35 | WH/RD | 5381 | Brake Position Sensor 5V Reference | IV | LH7 |
| 45 | 0.5 | WH/BU | 6289 | Induction Air Temperature Sensor Signal | IV | LH7 |
| 46 | 0.35 | BN/RD | 2700 | A/C Pressure Sensor 5V Reference | III | LH7 |
| 47 | 0.35 | GN | 380 | A/C Refrigerant Pressure Sensor Signal | IV | LH7 |
| 48 | 0.35 | BK/GN | 580 | Engine Control Sensors Low Reference (2) | IV | LH7 |
| 49 | 0.35 | GY/BK | 3865 | Heater Loop Auxiliary Pump Relay Control | III | LH7 |
| 50 | 0.35 | GN/GY | 465 | Fuel Pump Primary Relay Control | IV | LH7 |
| 51 | 0.35 | YE | 5991 | Powertrain Relay Coil Control | III | LH7 |
| 52 | 0.5 0.5 0.5 |
BU/BK GY BU/BK |
7493 7493 7493 |
High Speed GMLAN Serial Data (+) 3 High Speed GMLAN Serial Data (+) 3 High Speed GMLAN Serial Data (+) 3 |
IV III III |
EPH+LH7 -KL9 KL9+LVL/LH7/LWW-EPH |
| 53 | 0.5 | GY | 8014 | Blunt Cut | III | LH7 |
| 54 | 0.5 | BU/BN | 4498 | High Speed GMLAN Serial Data (+) 7 | III | LH7+NDE |
| 55 | 0.5 | BU | 2500 | High Speed GMLAN Serial Data (+) 1 | III | - |
| 56 | 0.5 | GY | 8015 | Blunt Cut | IV | LH7 |
| 57 | 0.5 | GY | 8016 | Blunt Cut | IV | LH7 |
| 58 | 0.35 | GN/VT | 4621 | Local Interconnect Network Serial Data Bus 21 | IV | KL9/VTI/EPH+LH7 |
| 59 | 0.35 | WH/GN | 5380 | Brake Position Sensor Signal | IV | LH7 |
| 60 | 0.5 | BK/VT | 2760 | Intake Air Temperature Sensor Low Reference | III | - |
| 61 | 0.5 | GY | 8017 | Blunt Cut | IV | LH7 |
| 62 | 0.5 | GY | 8018 | Blunt Cut | IV | LH7 |
| 63 | 0.5 | GY | 8019 | Blunt Cut | IV | LH7 |
| 64 | 0.5 | WH/GY | 4578 | Surge Accumulator Solenoid Low Side Control | IV | KL9+LH7 |
| 65 | 0.5 | GY | 8020 | Blunt Cut | III | LH7 |
| 66 | 0.35 | YE/BK | 625 | Starter Enable Relay Control | IV | KL9+LH7 |