LEMON Manuals: Even more car manuals for everyone
Home >> GMC >> 2017 >> Acadia SL >> Repair and Diagnosis >> External Pages >> Different car >> Section 8 (Wiring Systems And Power Management - Component Connector End Views - K111 To P29 X2) >> Component Connector End Views >> K176 Stop/Start Capacitor Control Module X1

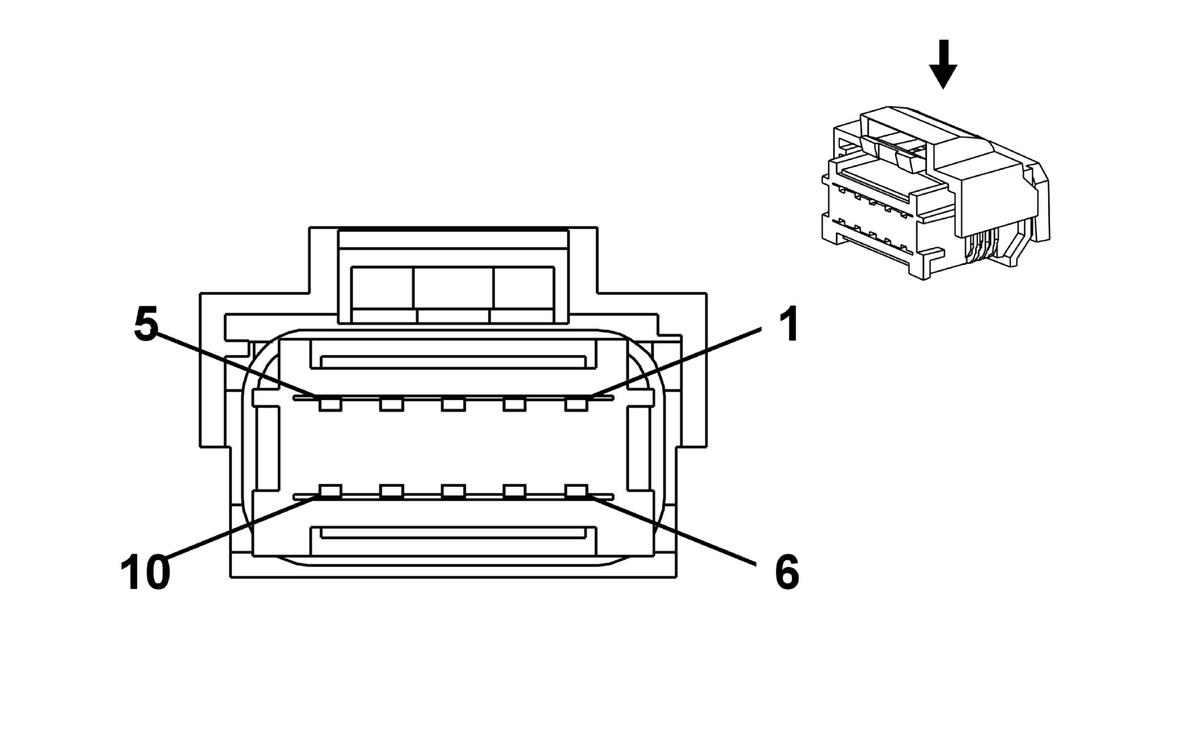
K176 Stop/Start Capacitor Control Module X1

WARNING: This page is about a different car, the 2016 Cadillac ATS. However, it is still accessible from the selected car via links, so may be relevant.
GM3661014
Connector Part Information
  • Harness Type: Body
  • OEM Connector: 98788-1201
  • Service Connector: 19353388
  • Description: 10-Way F 1.5 Series, Sealed (BK)
Terminal Part Information

Terminal Type ID Terminated Lead Diagnostic Test Probe Terminal Removal Tool Service Terminal Tray Name Core Crimp Insulation Crimp
I 19331014 J-35616-14 (GN) J-38125-12A Not Available Not Available Not Available Not Available
II 19354375 J-35616-14 (GN) J-38125-12A Not Available Not Available Not Available Not Available
Pin Size Color Circuit Function Terminal Type ID Option
1 0.5 YE/BU 5096 Pack Cool Signal II -
2 - - - Not Occupied - -
3 0.5 BU/VT 5094 Module Temperature Signal II -
4 0.5 BK/BU 5095 Module Temperature Low Reference 1 II -
5 - - - Not Occupied - -
6 0.5 RD/WH 2040 Battery Positive Voltage II -
7 0.5 RD/GN 2440 Battery Positive Voltage II -
8 - - - Not Occupied - -
9 0.5 GN/YE 4623 Local Interconnect Network Serial Data Bus 23 I -
10 0.5 BK 2550 Ground II -