LEMON Manuals: Even more car manuals for everyone
Home >> GMC >> 2015 >> Yukon SLE, 4WD >> Repair and Diagnosis >> Accessories & Equipment >> Drivers Assistance Systems - ADAS >> Object Detection System And Pedestrian Protection System >> Schematic Wiring Diagrams >> Object Detection Wiring Schematics >> Comprehensive Safety - Front Short Range Radar (UVZ)

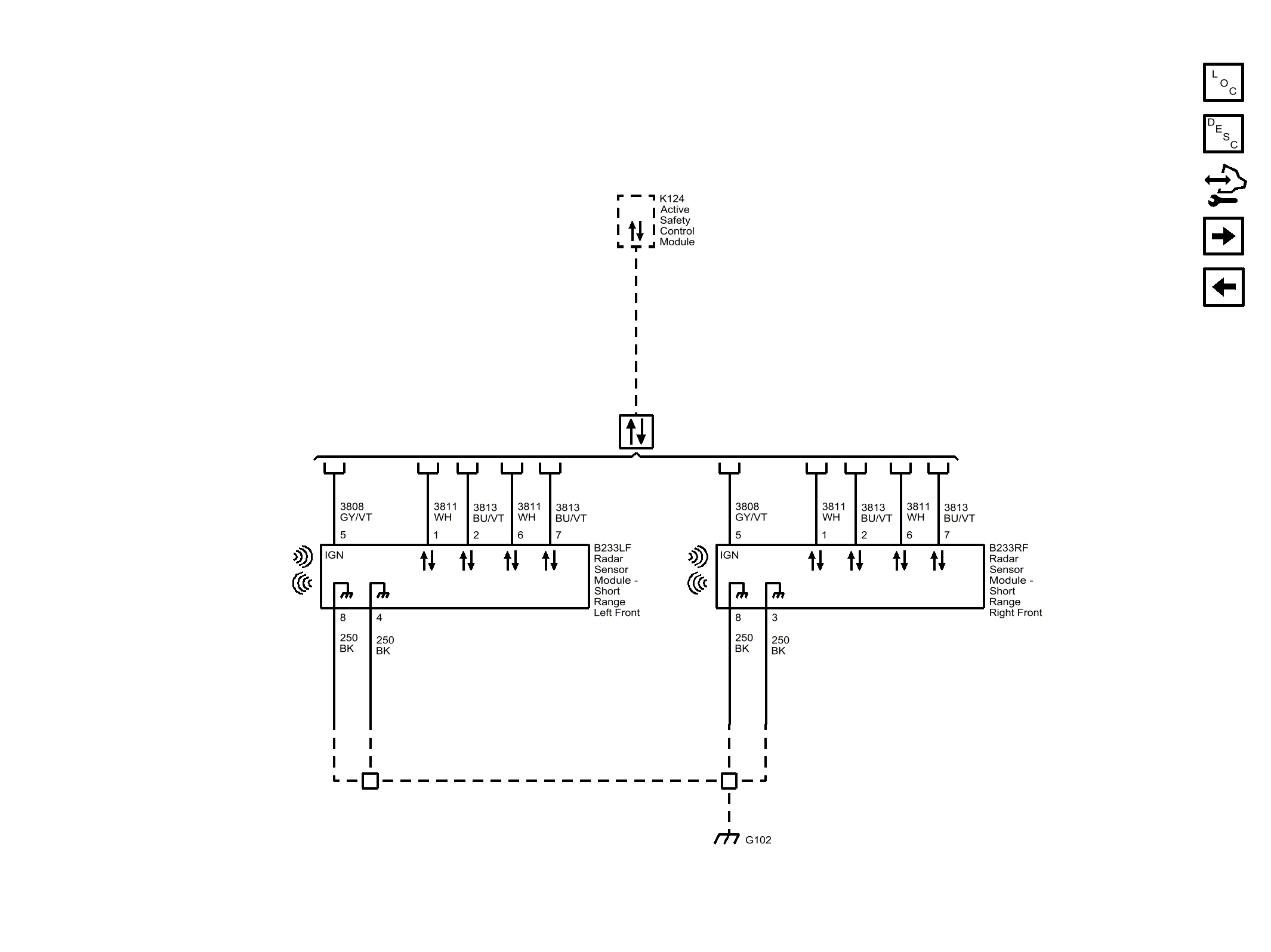
Comprehensive Safety - Front Short Range Radar (UVZ)

Fig 1: Comprehensive Safety - Front Short Range Radar (UVZ)
GM3640323Courtesy of GENERAL MOTORS COMPANY