K34 Glow Plug Control Module X2 (LML)
WARNING: This page does not describe the selected car, but rather 6 other vehicles, including the 2016 GMC Sierra 3500 HD, 2016 GMC Sierra 2500 HD, 2016 GMC Sierra 1500, 2016 Chevrolet Silverado 3500 HD, and 2016 Chevrolet Silverado 2500 HD. However, it is still accessible from the selected car via links, so may be relevant.
|
|
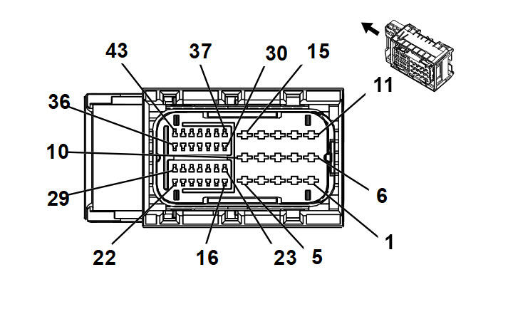
Connector Part Information
- Harness Type: Engine
- OEM Connector: 10023701
- Service Connector: 13576417
- Description: 43-Way F 1.2, 2.8 Series, Sealed (BK)
|
Terminal Part Information
| Terminal Type ID |
Terminated Lead |
Diagnostic Test Probe |
Terminal Removal Tool |
Service Terminal |
Tray Name |
Core Crimp |
Insulation Crimp |
| I |
13576372 |
J-35616-4A (PU) |
J-38125-556 |
Not Available |
Not Available |
Not Available |
Not Available |
| II |
13579735 |
J-35616-16 (LT GN) |
J-38125-21 |
Not Available |
Not Available |
Not Available |
Not Available |
| Pin |
Size |
Color |
Circuit |
Function |
Terminal Type ID |
Option |
| 1 |
2 |
GY/WH |
3675 |
DEF Pump Heater Control |
I |
LML |
| 2 |
2 |
WH/YE |
1584 |
Glow Plug Control 4 |
I |
LML |
| 3 |
2 |
YE |
1583 |
Glow Plug Control 3 |
I |
LML |
| 4 |
2 |
VT/WH |
1582 |
Glow Plug Control 2 |
I |
LML |
| 5 |
2 |
VT |
1581 |
Glow Plug Control 1 |
I |
LML |
| 6 |
2 |
VT/WH |
3199 |
DEF Pressure Line Heater Control |
I |
LML |
| 7 |
1 |
TN |
3673 |
NOx Sensor 1 Ground |
I |
LML |
| 8 |
2 |
BK/WH |
351 |
Signal Ground |
I |
LML |
| 9 |
1 |
TN/BK |
3671 |
NOx Sensor 2 Ground |
I |
LML |
| 10 |
2 |
BK |
550 |
Ground |
I |
LML |
| 11 |
2 |
OG/WH |
3677 |
DEF Reservoir Heater Control |
I |
LML |
| 12 |
2 |
GN |
1585 |
Glow Plug Control 5 |
I |
LML |
| 13 |
2 |
GN/WH |
1586 |
Glow Plug Control 6 |
I |
LML |
| 14 |
2 |
PK |
1587 |
Glow Plug Control 7 |
I |
LML |
| 15 |
2 |
PK/WH |
1588 |
Glow Plug Control 8 |
I |
LML |
| 16 |
0.5 |
GN |
2924 |
Intake Air Heater Current Feedback Signal |
II |
LML |
| 17 |
0.5 |
VT |
2922 |
Intake Air Heater Digital Response Signal |
II |
LML |
| 18 |
0.5 |
TN |
2501 |
High Speed GMLAN Serial Data (-) 1 |
II |
LML |
| 19 |
0.5 |
TN |
2501 |
High Speed GMLAN Serial Data (-) 1 |
II |
LML |
| 20 - 22 |
- |
- |
- |
Not Occupied |
- |
- |
| 23 |
0.5 |
TN |
2925 |
Intake Air Heater Voltage Feedback Signal |
II |
LML |
| 24 |
0.5 |
BK |
2923 |
Intake Air Heater Temperature Signal |
II |
LML |
| 25 |
0.5 |
TN/BK |
2500 |
High Speed GMLAN Serial Data (+) 1 |
II |
LML |
| 26 |
0.5 |
TN/BK |
2500 |
High Speed GMLAN Serial Data (+) 1 |
II |
LML |
| 27 - 29 |
- |
- |
- |
Not Occupied |
- |
- |
| 30 |
0.5 |
OG/BK |
2921 |
Intake Air Heater Switch On/Off Signal |
II |
LML |
| 31 |
0.5 |
YE |
2920 |
Intake Air Heater Heart Beat Signal |
II |
LML |
| 32 |
- |
- |
- |
Not Occupied |
- |
- |
| 33 |
0.5 |
PK |
2139 |
Run/Crank Ignition 1 Voltage |
II |
LML |
| 34 - 36 |
- |
- |
- |
Not Occupied |
- |
- |
| 37 |
0.5 |
VT |
3674 |
NOx Sensor 1 Control |
II |
LML |
| 38 |
0.5 |
GY |
3672 |
NOx Sensor 2 Control |
II |
LML |
| 39 |
- |
- |
- |
Not Occupied |
- |
- |
| 40 |
0.5 |
BU |
5985 |
Accessory Wakeup Serial Data |
II |
LML |
| 41 - 43 |
- |
- |
- |
Not Occupied |
- |
- |