LEMON Manuals: Even more car manuals for everyone
Home >> GMC >> 2012 >> Yukon XL C2500 >> Repair and Diagnosis >> Quick Lookups >> Wiring Diagrams >> Wiring Systems And Power Management - Component Connector End Views - Electronic Compass Module To Memory Seat Module (X4) >> Component Connector End Views >> Inflatable Restraint Passenger Presence System (PPS) Module (without HP2 or Z75 with HP2)

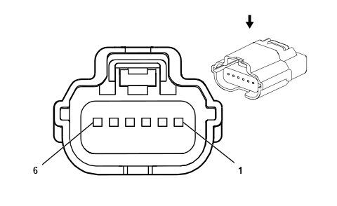
Inflatable Restraint Passenger Presence System (PPS) Module (without HP2 or Z75 with HP2)

GM1974974Courtesy of
Connector Part Information
  • Harness Type: Passenger Seat
  • OEM Connector: 88988771
  • Service Connector: 13577043
  • Description: 6-Way F M64 Series, Sealed (BK)
Terminal Part Information
  • Terminated Lead: Service by Harness - See Part Catalog
  • Release Tool: Not Available
  • Diagnostic Test Probe: J-35616-64B (L-BU)
  • Terminal/Tray: Not Available
  • Core/Insulation Crimp: Not Available
Inflatable Restraint Passenger Presence System (PPS) Module (without HP2 or Z75 with HP2)

Pin Wire Circuit Function
1 0.5 RD/WH 4440 Battery Positive Voltage
2 0.35 D-GN 5060 Low Speed GMLAN Serial Data
3 - - Not Used
4 0.5 BK/WH 2751 Low Reference
5 0.35 D-GN 5612 Passenger Seat Belt Tension Sensor Voltage Reference
6 0.35 D-GN/WH 5611 Passenger Seat Belt Tension Sensor Signal