LEMON Manuals: Even more car manuals for everyone
Home >> GMC >> 2007 >> Acadia SLT, AWD >> Repair and Diagnosis >> External Pages >> Different car >> Section 77 (Cellular System, Entertainment System, And Navigation System) >> Component Locator >> Entertainment/Communication Connector End Views >> Radio Antenna Module

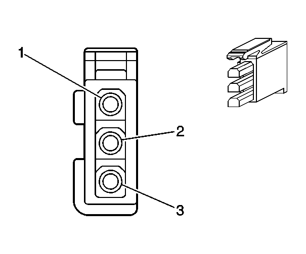
Radio Antenna Module

WARNING: This page is about a different car, the 2007 Cadillac CTS. However, it is still accessible from the selected car via links, so may be relevant.
Fig 1: Radio Antenna Module Connector End Views
GM890598Courtesy of GENERAL MOTORS CORP.
Radio Antenna Module Connector Parts Information

Connector Part Information 
  • OEM: 12186246
  • Service: 15305983
  • Description: 3-Way F Micro-Pack (WH)
Terminal Part Information 
  • Terminal/Tray: See Terminal Repair Kit
  • Core/Insulation Crimp: See Terminal Repair Kit
  • Release Tool/Test Probe: See Terminal Repair Kit
Radio Antenna Module Connector Terminal Identification

Pin Wire Color Circuit No. Function
1 RD/WH 3640 Battery Positive Voltage
2 OG 1486 FM Composite Signal
3 PU 1807 Class 2 Serial Data