LEMON Manuals: Even more car manuals for everyone
Home >> GMC >> 2007 >> Acadia SLE, AWD >> Repair and Diagnosis >> External Pages >> Different car >> Section 404 (Cellular System, Entertainment System, And Navigation System) >> Component Locator >> Entertainment/Communication Connector End Views >> Radio C1

Radio C1

WARNING: This page is about a different car, the 2007 Cadillac XLR. However, it is still accessible from the selected car via links, so may be relevant.
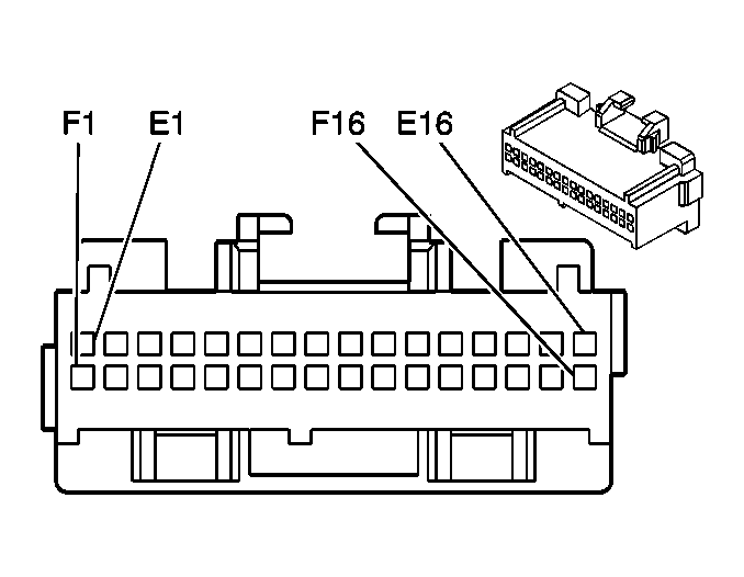
Fig 1: Radio C1 Connector End View
GM73222Courtesy of GENERAL MOTORS CORP.
Radio C1 Connector Parts Information

Connector Part Information 
  • OEM: 12110115
  • Service: 12110115
  • Description: 32-Way F Micro-Pack 100 Series (D-BU)
Terminal Part Information 
  • Pins: E15, F16
  • Terminal/Tray: See Terminal Repair Kit
  • Core/Insulation Crimp: See Terminal Repair Kit
  • Release Tool/Test Probe: See Terminal Repair Kit
  • Pins: E4, E6, E12, E13, E14, F1, F2, F3, F11, F12, F13, F14, F15
  • Terminal/Tray: 12146447/3
  • Core/Insulation Crimp: E/C
  • Release Tool/Test Probe: 12031876-1/J-35616-6 (BN)
  • Pins: E16
  • Terminal/Tray: 12146448/19
  • Core/Insulation Crimp: E/A
  • Release Tool/Test Probe: 12031876-1/J-35616-6 (BN)
Radio C1 Connector Terminal Identification

Pin Wire Color Circuit No. Function
E1-E3 - - Not Used
E4 YE 5172 Antenna Radio Signal
E5 - - Not Used
E6 OG 1044 Radio Class 2 Serial Data
E7-E11 - - Not Used
E12 TN 511 Left Front Low Level Audio Signal
E13 D-GN 1947 Left Front Low Level Audio (-)
E14 BARE 2011 Left Front Audio Drain Wire
E15 BARE 2012 Right Front Audio Drain Wire
E16 BK/WH 651 Signal Ground
F1 RD/WH 740 Battery Positive Voltage
F2 D-GN/WH 817 Vehicle Speed Signal
F3 PK 5165 Switched Supply Voltagel
F4-F10 - - Not Used
F11 BARE 5344 Navigation Voice Screen
F12 TN 5778 Radio Voice Prompt Low Reference
F13 D-GN 5743 Radio Voice Prompt Signal
F14 L-GN 1948 Right Front Low Level Audio (-)
F15 L-GN/BK 512 Right Front Low Level Audio Signal
F16 BARE 2060 Auxiliary Detection Signal