LEMON Manuals: Even more car manuals for everyone
Home >> GMC >> 2005 >> Jimmy Part Time, Standard >> Repair and Diagnosis (Single Page) >> Quick Lookups >> Wiring Diagrams >> OEM Connector End Views >> SIR Connector End Views >> Inflatable Restraint Sensing and Diagnostic Module (SDM) Connector End View

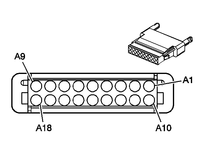
Inflatable Restraint Sensing and Diagnostic Module (SDM) Connector End View

Inflatable Restraint Sensing and Diagnostic Module (SDM)

GM793959Courtesy of GENERAL MOTORS CORP.
Connector Part Information
  • 15357037
  • 18-Way F Micro-Pack 100W Series, Sealed (YEL)
Pin Wire Color Circuit No. Function
A1 YEL 1139 Ignition 1 Voltage
A2 - - Not Used
A3 WHT/BLK 1403 I/P Module - High Control
A4 DK BLU 1128 SDM Class 2 Serial Data
A5 - - Not Used
A6 WHT 347 Steering Wheel Module - High Control
A7 DK GRN 348 Steering Wheel Module - Low Control
A8 DK GRN/WHT 1404 I/P Module - Low Control
A9 PNK 353 I/P Module Suppression Indicator Control
A10 TAN/BLK 371 I/P Module Disable Switch - Signal
A11 YEL 2160 Front End Discriminating Sensor Signal
A12 BLK/WHT 2151 Ground
A13-A17 - - Not Used
A18 BLK/WHT 1851 Ground