LEMON Manuals: Even more car manuals for everyone
Home >> GMC >> 2004 >> Jimmy 2D Utility, Part Time, Automatic >> Repair and Diagnosis >> Engine Performance >> System >> Engine Control System - 4.3L (Introduction) >> Schematic and Routing Diagrams >> Emission Hose Routing Diagram

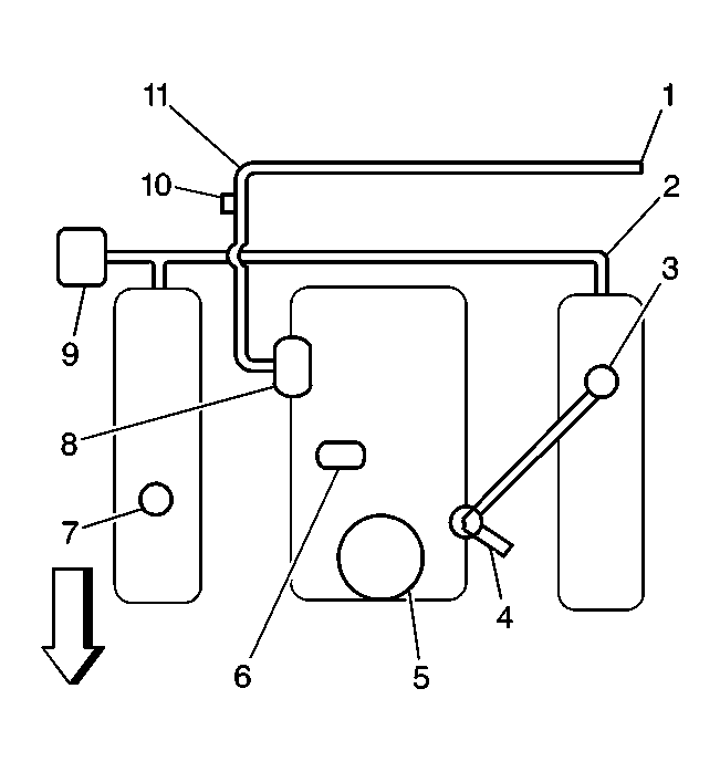
Emission Hose Routing Diagram

Fig 1: Emission Hose Vacuum Routing
GM369409Courtesy of GENERAL MOTORS CORP.
Callout Component Name
1 To EVAP Canister
2 To AIR Pump (If Applicable)
3 Positive Crankcase Ventilation (PCV)
4 To HVAC (If Applicable)
5 Throttle Body
6 Manifold Absolute Pressure (MAP) Sensor
7 Crankcase Vent
8 EVAP Canister Purge Solenoid Valve
9 AIR Pump (If Applicable)
10 EVAP Service Port
11 EVAP Canister Purge Hose