LEMON Manuals: Even more car manuals for everyone
Home >> GMC >> 2004 >> Jimmy 2D Utility, Part Time, Automatic >> Repair and Diagnosis >> Engine Performance >> System >> Engine Control System - 4.3L (Introduction) >> Repair Instructions >> Fuel Tank Replacement (Pickup) >> Notes

Fuel Tank Replacement (Pickup): Notes

CAUTION: Refer to Battery Disconnect Caution in Cautions and Notices.

Removal Procedure

  1. Disconnect the negative battery cable.
  2. Remove the fuel filler pipe. Refer to Filler Tube Replacement (Pickup) , Filler Tube Replacement (2-Door Utility)  or Filler Tube Replacement (4-Door Utility Lower) .
  3. Drain the fuel from the tank. Refer to Fuel Tank Draining Procedure (2-Door Utility) .
  4. Raise the vehicle. Refer to Lifting and Jacking the Vehicle in General Information.
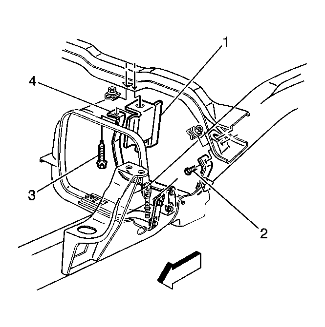
  5. Fig 1: Locating Fuel Tank Front Shield Components
    GM617032Courtesy of GENERAL MOTORS CORP.
  6. Remove the fuel tank front shield (4) (without underbody shield package).
  7. Fig 2: Locating Fuel Tank Shield Components
    GM617041Courtesy of GENERAL MOTORS CORP.
  8. Remove the fuel tank shield (4 wheel drive with underbody shield package).
  9. Support the fuel tank.
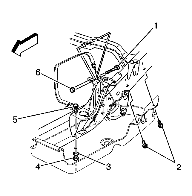
  10. Fig 3: Locating Fuel Tank Components
    GM616757Courtesy of GENERAL MOTORS CORP.
    NOTE: Ensure that the rollover valve connection and the fuel sender connections are disconnected prior to lowering the fuel tank more than 51 mm (2 in) in order to prevent damage to the fuel tank and the fuel sender.
  11. Remove the fuel tank front strap (1).
  12. Fig 4: Locating Fuel Tank Rear Strap
    GM616751Courtesy of GENERAL MOTORS CORP.
  13. Remove the fuel tank rear strap (4).
  14. Disconnect the EVAP pipe from the rollover valve.
  15. NOTE: Use extreme care when lowering the fuel tank. The fuel sender is made of plastic. Lowering the fuel tank may damage the fuel sender.
  16. Carefully lower the fuel tank no more than 51 mm (2 in).
  17. Fig 5: View Of Fuel Sender Assembly
    GM331713Courtesy of GENERAL MOTORS CORP.
  18. Disconnect the fuel pressure sensor and the fuel sender electrical connectors.
  19. Disconnect the fuel feed pipe, the fuel return pipe, and the evaporative emission (EVAP) pipe at the fuel sender.
  20. Remove the fuel tank from the vehicle.
  21. Fig 6: View Of Fuel Sender
    GM331709Courtesy of GENERAL MOTORS CORP.
  22. Remove the fuel sender from the fuel tank. Refer to Fuel Sender Assembly Replacement (Utility/Crew Cab)  or Fuel Sender Assembly Replacement (Pick-Up) .