LEMON Manuals: Even more car manuals for everyone
Home >> GMC >> 2004 >> Jimmy 2D Utility, Part Time, Automatic >> Repair and Diagnosis >> Engine Performance >> System >> Engine Control System - 4.3L (Introduction) >> Repair Instructions >> Distributor Replacement >> Installation Procedure 1

Installation Procedure 1

    Fig 1: Locating Second Position
    GM4376Courtesy of GENERAL MOTORS CORP.
  1. If installing a new distributor assembly, place 2 marks on the new distributor housing in the same location as the 2 marks on the original housing.
  2. Remove the new distributor cap, if necessary.
  3. Align the rotor with the second mark (2).
  4. Fig 2: View Of Distributor
    GM34397Courtesy of GENERAL MOTORS CORP.
  5. Guide the distributor into the engine.
  6. Align the hole in the distributor hold-down base over the mounting hole in the intake manifold.
  7. As the distributor is being installed, observe the rotor moving in a clockwise direction about 42 degrees.
  8. Fig 3: Marking Position Of Rotor In Relation To Distributor Housing
    GM4373Courtesy of GENERAL MOTORS CORP.
  9. Once the distributor is completely seated, the rotor segment should be aligned with the mark on the distributor base (1).
    • If the rotor segment is not aligned with the number 1 mark, the driven gear teeth and the camshaft have meshed one or more teeth out of alignment.
    • In order to correct this condition, remove the distributor and reinstall the distributor.
  10. Fig 4: Locating Distributor Mounting Clamp Bolt
    GM366609Courtesy of GENERAL MOTORS CORP.
    NOTE: Refer to Fastener Notice in Cautions and Notices.
  11. Install the distributor mounting clamp bolt.

    Tighten:  Tighten the distributor clamp bolt to 25 N.m (18 lb ft).

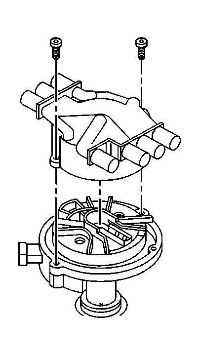
  12. Fig 5: View Of Distributor Cap
    GM301393Courtesy of GENERAL MOTORS CORP.
  13. Install the distributor cap.
  14. Install 2 new distributor cap screws.

    Tighten:  Tighten the screws to 2.4 N.m (21 lb in).

  15. Install the electrical connector to the distributor.
  16. Install the spark plug wires to the distributor cap.
  17. Fig 6: View Of Ignition Coil Wire Harness
    GM387772Courtesy of GENERAL MOTORS CORP.
  18. Install the ignition coil wire.

    Note the correct orientation of the wire boot.

  19. IMPORTANT: If the malfunction indicator lamp (MIL) is turned ON after installing the distributor, and a DTC P1345 is found, the distributor has been installed incorrectly.
  20. Refer to installation procedure 2 if malfunction indicator lamp is turned ON after installing the distributor.