LEMON Manuals: Even more car manuals for everyone
Home >> GMC >> 2004 >> Jimmy 2D Utility, Part Time, Automatic >> Repair and Diagnosis >> Engine Performance >> System >> Engine Control System - 4.3L (Introduction) >> Component Locator >> Engine Controls Connectors

Engine Controls Connectors

Camshaft Position (CMP) Sensor

GM684807Courtesy of GENERAL MOTORS CORP.
Connector Part Information
  • 12110293
  • 3-Way F Metri-Pack 150 Series, Sealed (BLK)
Pin Wire Color Circuit No. Function
A PNK/BLK 632 Low Reference
B BRN/WHT 633 CMP Sensor Signal
C RED 631 12 Volt Reference
Central Sequential Fuel Injection (Central SFI)

GM39782Courtesy of GENERAL MOTORS CORP.
Connector Part Information
  • 12177083
  • 12-Way F Micro-Pack 100 Series, Sealed (BLK)
Pin Wire Color Circuit No. Function
A BLK/WHT 845 Fuel Injector 5 Control
B PNK 439 Ignition 1 Voltage
C PNK/BLK 1746 Fuel Injector 3 Control
D PNK 439 Ignition 1 Voltage
E PNK 439 Ignition 1 Voltage
F BLK 1744 Fuel Injector 1 Control
G LT GRN/BLK 1745 Fuel Injector 2 Control
H PNK 439 Ignition 1 Voltage
J PNK 439 Ignition 1 Voltage
K LT BLU/BLK 844 Fuel Injector 4 Control
L PNK 439 Ignition 1 Voltage
M YEL/BLK 846 Fuel Injector 6 Control
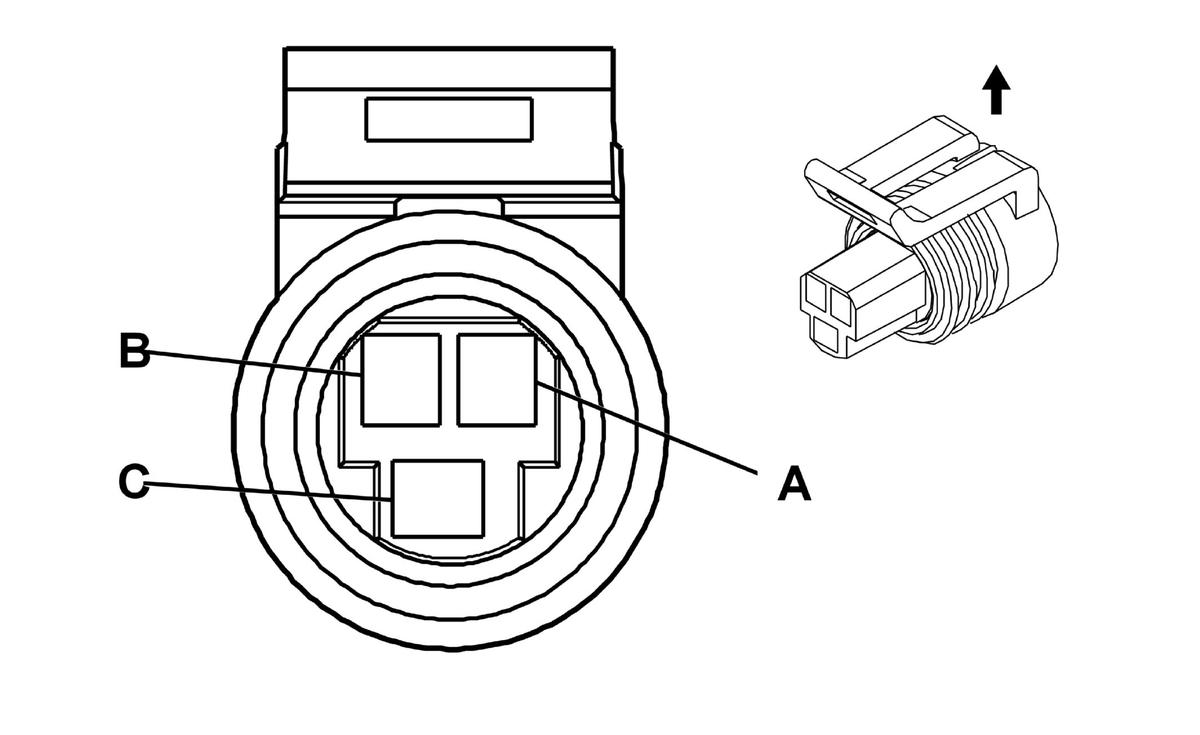
Crankshaft Position (CKP) Sensor

GM516611Courtesy of GENERAL MOTORS CORP.
Connector Part Information
  • 12059595
  • 3-Way F Metri-Pack 150 Series Sealed (BLK)
Pin Wire Color Circuit No. Function
A LT GRN 1867 12 Volt Reference
B PPL 574 Low Reference
C YEL 573 CKP Sensor Signal
Engine Coolant Temperature (ECT) Sensor

GM237066Courtesy of GENERAL MOTORS CORP.
Connector Part Information
  • 12162194
  • 2-Way F Metri-Pack 150.2 Series, Pull-to-Seat (BLK)
Pin Wire Color Circuit No. Function
A BLK 2761 Low Reference
B YEL 410 ECT Sensor Signal
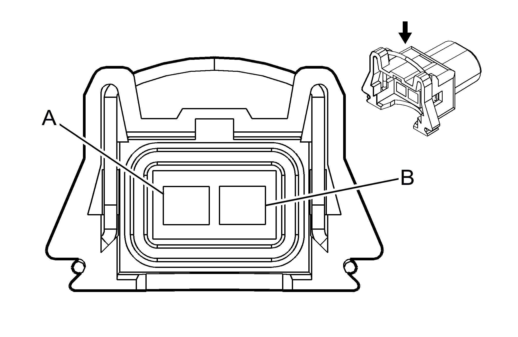
Evaporative Emission (EVAP) Canister Purge Solenoid

GM684795Courtesy of GENERAL MOTORS CORP.
Connector Part Information
  • 12052643
  • 2-Way F Metri-Pack 150 Series Sealed (RED)
Pin Wire Color Circuit No. Function
A PNK 239 Ignition 1 Voltage
B DK GRN/WHT 428 EVAP Canister Purge Solenoid Control
Evaporative Emission (EVAP) Canister Vent Solenoid

GM684795Courtesy of GENERAL MOTORS CORP.
Connector Part Information
  • 12052643
  • 2-Way F Metri-Pack 150 Series, Sealed (RED)
Pin Wire Color Circuit No. Function
A ORN 140 Ignition 1 Voltage
B WHT 1310 EVAP Canister Vent Solenoid Control
Fuel Pump and Sender Assembly

GM456551Courtesy of GENERAL MOTORS CORP.
Connector Part Information
  • 12160482
  • 4-Way F Metri-Pack 150 Series (BLK)
Pin Wire Color Circuit No. Function
A PPL 1589 Fuel Level Sensor Signal
B GRY 120 Fuel Pump Supply Voltage
C BLK 1650 Ground Utility
BLK 1750 Ground Pickup
D BLK/WHT 470 Low Reference
Fuel Tank Pressure (FTP) Sensor

GM516611Courtesy of GENERAL MOTORS CORP.
Connector Part Information
  • 12059595
  • 3-Way F Metri-Pack 150 Series, Sealed (BLK)
Pin Wire Color Circuit No. Function
A BLK/WHT 470 Low Reference
B DK GRN 890 Fuel Tank Pressure Sensor Signal
C GRY 474 5 Volt Reference
Heated Oxygen Sensor (HO2S), Bank 1 Sensor 1

GM474210Courtesy of GENERAL MOTORS CORP.
Connector Part Information
  • 12176897
  • 4-Way F Metri-Pack 150 Series, Sealed (LT GRY)
Pin Wire Color Circuit No. Function
A TAN/WHT 1664 HO2S Low Signal (Bank 1 Sensor 1)
B PPL/WHT 1665 HO2S High Signal (Bank 1 Sensor 1)
C BLK 3113 HO2S Heater Low Control (Bank 1 Sensor 1)
D PNK 539 Ignition 1 Voltage
Heated Oxygen Sensor (HO2S), Bank 1 Sensor 2

GM474210Courtesy of GENERAL MOTORS CORP.
Connector Part Information
  • 12176897
  • 4-Way F Metri-Pack 150 Series (LT GRY)
Pin Wire Color Circuit No. Function
A TAN/WHT 1669 HO2S Low Signal (Bank 1 Sensor 2)
B PPL/WHT 1668 HO2S High Signal (Bank 1 Sensor 2)
C BRN 2391 HO2S Heater Low Control (Bank 1 Sensor 2)
D PNK 539 Ignition 1 Voltage
Heated Oxygen Sensor (HO2S), Bank 2 Sensor 1

GM474210Courtesy of GENERAL MOTORS CORP.
Connector Part Information
  • 12176897
  • 4-Way F Metri-Pack 150 Series (LT GRY)
Pin Wire Color Circuit No. Function
A TAN 1667 HO2S Low Signal (Bank 2 Sensor 1)
B PPL 1666 HO2S High Signal (Bank 2 Sensor 1)
C LT GRN 3212 HO2S Heater Low Control (Bank 2 Sensor 1)
D PNK 539 Ignition 1 Voltage
Idle Air Control (IAC) Valve

GM38608Courtesy of GENERAL MOTORS CORP.
Connector Part Information
  • 12162190
  • 4-Way M Metri-Pack 150.2 Series, Pull-to-Seat (BLK)
Pin Wire Color Circuit No. Function
A LT GRN/BLK 444 IAC Coil B Low Control
B LT GRN/WHT 1749 IAC Coil B High Control
C LT BLU/BLK 1748 IAC Coil A Low Control
D LT BLU/WHT 1747 IAC Coil A High Control
Ignition Coil

GM68743Courtesy of GENERAL MOTORS CORP.
Connector Part Information
  • 12146121
  • 3-Way F Metri-Pack 150 Series, Sealed (BRN)
Pin Wire Color Circuit No. Function
A PNK 439 Ignition 1 Voltage
B - - Not Used
C WHT/BLK 1847 Ignition Coil Control
Ignition Control Module (ICM)

GM38608Courtesy of GENERAL MOTORS CORP.
Connector Part Information
  • 12162189
  • 4-Way F Metri-Pack 150.2 Series, Pull-to-Seat Sealed (BLK)
Pin Wire Color Circuit No. Function
A PNK 439 Ignition 1 Voltage
B WHT 423 IC Timing Control
C BLK/WHT 451 Ground
D WHT/BLK 1847 Ignition Coil Control
Intake Air Temperature (IAT) Sensor

GM646180Courtesy of GENERAL MOTORS CORP.
Connector Part Information
  • 12162198
  • 2-Way F Metri-Pack 150.2 Series, Sealed, Pull-to-Seat (GRY)
Pin Wire Color Circuit No. Function
A BLK 2760 Low Reference
B TAN 472 IAT Sensor Signal
Knock Sensor (KS)

GM684833Courtesy of GENERAL MOTORS CORP.
Connector Part Information
  • 12129140
  • 2-Way F Metri-Pack 280 Series, Pull-to-Seat (BLK)
Pin Wire Color Circuit No. Function
A DK BLU 496 Knock Sensor Signal
B GRY 1716 Low Reference
Manifold Absolute Pressure (MAP) Sensor

GM684840Courtesy of GENERAL MOTORS CORP.
Connector Part Information
  • 12129946
  • 3-Way F Metri-Pack 150 Series Sealed (MD GRY)
Pin Wire Color Circuit No. Function
A ORN 469 Low Reference
B LT GRN 432 MAP Sensor Signal
C GRY 2704 5 Volt Reference
Mass Air Flow (MAF) Sensor

GM516611Courtesy of GENERAL MOTORS CORP.
Connector Part Information
  • 12059595
  • 3-Way F Metri-Pack Series, Sealed (BLK)
Pin Wire Color Circuit No. Function
A YEL 492 MAF Sensor Signal
B BLK/WHT 451 Ground
C PNK 239 Ignition 1 Voltage
Throttle Position (TP) Sensor

GM258299Courtesy of GENERAL MOTORS CORP.
Connector Part Information
  • 12110192
  • 3-Way F Micro-Pack 150 Series, Sealed, Pull-to-Seat (BLK)
Pin Wire Color Circuit No. Function
A GRY 2701 5 Volt Reference
B BLK 2752 Low Reference
C DK BLU 417 TP Sensor Signal