LEMON Manuals: Even more car manuals for everyone
Home >> GMC >> 2003 >> Jimmy 2D Utility, Part Time, Standard >> Repair and Diagnosis >> External Pages >> Different car >> Section 135 (Body Control System) >> Schematic and Routing Diagrams >> Body Control System Schematics

Body Control System Schematics

WARNING: This page is about a different car, the 2004 Chevrolet Corvette. However, it is still accessible from the selected car via links, so may be relevant.
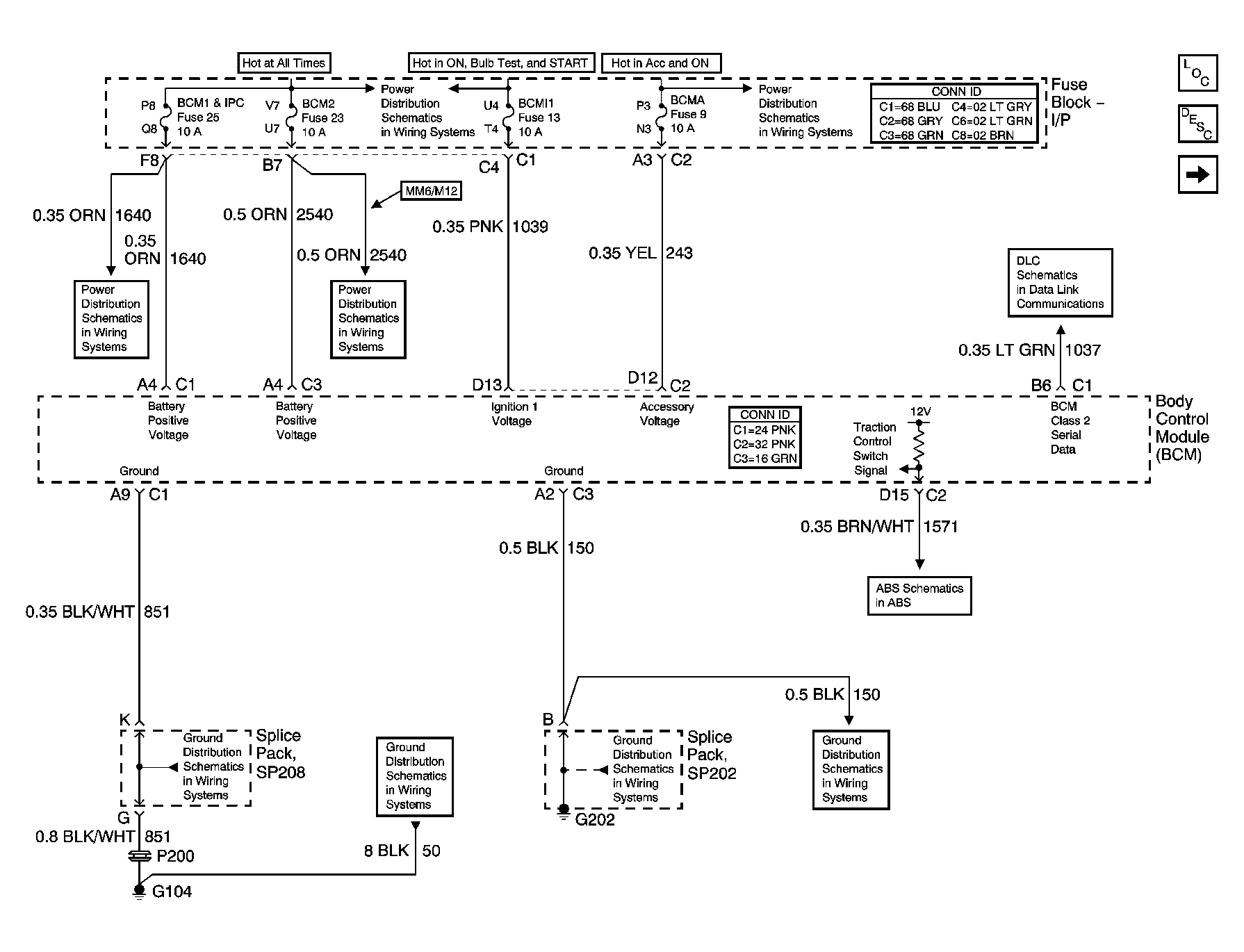
Fig 1: Power, Ground, and DLC Schematic
GM690446Courtesy of GENERAL MOTORS CORP.
Fig 2: Lighting References Schematic
GM690459Courtesy of GENERAL MOTORS CORP.
Fig 3: Subsystem References Schematic
GM690462Courtesy of GENERAL MOTORS CORP.