LEMON Manuals: Even more car manuals for everyone
Home >> GMC >> 2003 >> Jimmy 2D Utility, Part Time, Automatic >> Repair and Diagnosis >> Engine Performance >> System >> Engine Controls - System & Component Testing - 4.3L >> Fuel Systems >> Fuel Pump Electrical Circuit Diagnosis >> Notes

Fuel Pump Electrical Circuit Diagnosis: Notes

Fig 1: Identifying Underhood Fuse/Relay Block
G00169522Courtesy of GENERAL MOTORS CORP.
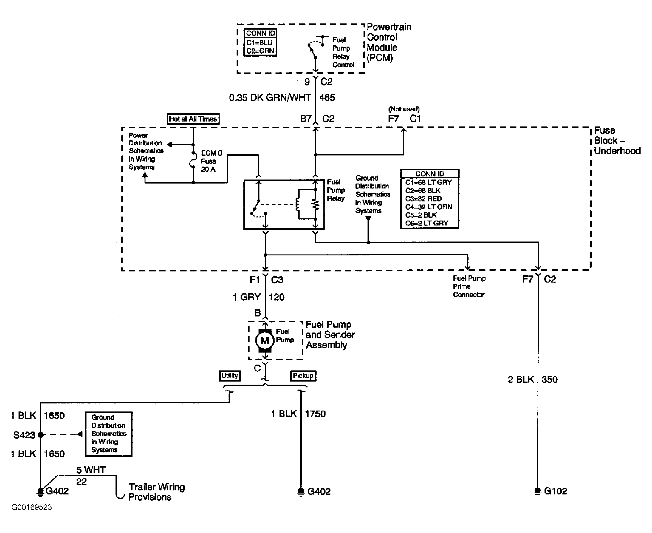
Fig 2: Fuel Pump Electrical Schematic
G00169523Courtesy of GENERAL MOTORS CORP.