LEMON Manuals: Even more car manuals for everyone
Home >> GMC >> 2002 >> Jimmy 2D Utility, Part Time, Standard >> Repair and Diagnosis >> External Pages >> Different variant/trim >> Section 1 (Shift Interlock Systems) >> Removal & Installation >> STOPLAMP Switch >> Installation

STOPLAMP Switch: Installation

WARNING: This page is about a different variant/trim than selected.

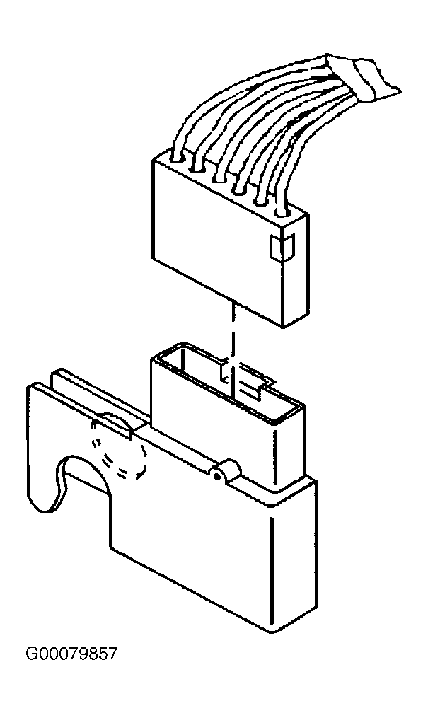
Install the electrical connector to the stoplamp switch. See Fig 3. Install the stoplamp switch and the pushrod to the brake pedal pin. See Fig 2. Install the pushrod retainer on the brake pedal pin. The retainer will snap into place. See Fig 1.

Fig 1: Removing & Installing Stoplamp Switch Retainer
G00079858Courtesy of GENERAL MOTORS CORP.
Fig 2: Removing & Installing Stoplamp Switch On Pedal Pin
G00079856Courtesy of GENERAL MOTORS CORP.
Fig 3: Removing & Installing Stoplamp Switch Harness Connector
G00079857Courtesy of GENERAL MOTORS CORP.