LEMON Manuals: Even more car manuals for everyone
Home >> GMC >> 2002 >> Jimmy 2D Utility, Part Time, Standard >> Repair and Diagnosis >> External Pages >> Different car >> Section 894 (Transfer Case - STEYR (Unit Repair)) >> Repair Instructions >> Transfer Case Assemble >> Extension Housing Assembly and Shim Selection - Procedure B

Extension Housing Assembly and Shim Selection - Procedure B

WARNING: This page is about a different car, the 2003 Pontiac Montana, 2003 Pontiac Aztek, 2003 Oldsmobile Silhouette, 2003 Chevrolet Venture, and 2003 Buick Rendezvous. However, it is still accessible from the selected car via links, so may be relevant.
Fig 1: Installing Outer Bearing Race Using J 44908
G01365613Courtesy of GENERAL MOTORS CORP.
  1. Use the J 44908  (1) and a hydraulic press in order to install the outer bearing race to the extension housing.
  2. Use the J 44908  (1) and a hydraulic press in order to install the inner bearing race to the extension housing.
    Fig 2: Installing Inner Bearing Race Using J 44908 And Press
    G01365614Courtesy of GENERAL MOTORS CORP.
  3. Use the J 44907  (1) and a hydraulic press in order to install the inner bearing (2) to the driveshaft.
    Fig 3: Installing Inner Bearing Using J 44907 And Press
    G01365615Courtesy of GENERAL MOTORS CORP.
  4. Install the driveshaft (9), NEW spacer (5), and bearing (3) into the extension housing (6).
    Fig 4: Installing Driveshaft, Spacer, And Bearing
    G01365616Courtesy of GENERAL MOTORS CORP.
  5. Use the J 5590  (1) and a hydraulic press in order to install the bearing onto the shaft.
    Fig 5: Installing Bearing Using J 5590 And A Hydraulic Press
    G01365617Courtesy of GENERAL MOTORS CORP.
  6. Use the J 36797  (1) in order to install a new oil seal (2) into the extension housing (3).
    Fig 6: Installing Oil Seal Using J 36797
    G01365618Courtesy of GENERAL MOTORS CORP.
  7. Lightly lubricate the splines of the driveshaft with grease.
    Fig 7: Installing Flange Onto Shaft Using A Hydraulic Press
    G01365619Courtesy of GENERAL MOTORS CORP.
  8. Install the flange (1) onto the shaft using a hydraulic press.
  9. Install the extension housing assembly (3) and bolts (1) to the J 44755  (2).
    Fig 8: Installing Extension Housing Assembly And Bolts To J 44755
    G01365620Courtesy of GENERAL MOTORS CORP.

    Tighten 

    Tighten the bolts to 25 N.m (18 lb ft).

  10. Install a new nut (1) onto the shaft.
    Fig 9: Installing Nut Onto Shaft
    G01365621Courtesy of GENERAL MOTORS CORP.

    Tighten 

    • Tighten the nut, with new bearings to 250 N.m (185 lb ft).
    • Tighten the nut, with used bearings to 200 N.m (148 lb ft).
  11. Remove the extension housing assembly and bolts from the J 44755. 
  12. Measure in both directions, the rotating torque of the driveshaft. A properly assembled shaft and NEW bearings should have a rotating torque of 1.5 N.m (13 lb in). When reusing driveshaft bearings, the rotating torque should equal the value recorded during disassembly. Tighten the flange nut as required to achieve the proper rotating torque value.
    Fig 10: Measuring Rotating Torque In Both Direction
    G01365622Courtesy of GENERAL MOTORS CORP.
  13. Measure the distance between the end of the pinion and the extension housing seal surface. Record the value as dimension C.
    Fig 11: Measuring Distance Between End Of Pinion And Extension Housing Seal Surface
    G01365623Courtesy of GENERAL MOTORS CORP.
  14. Determine the four-digit value (1) on the end of the driveshaft gear.
    Fig 12: Determining Four-Digit Value On End Of Driveshaft Gear
    G01365624Courtesy of GENERAL MOTORS CORP.

    A comma is to be considered a decimal point. Record the value as dimension E.

  15. Install the J 44757-3 (2) into the bore of the housing (1).
    Fig 13: Installing J 44757-3 Into Bore Of Housing
    G01365625Courtesy of GENERAL MOTORS CORP.
  16. Install J 44757-9 (3) and bolts (2) to the housing (1).
    Fig 14: Installing J 44757-9 And Bolts To Housing
    G01365626Courtesy of GENERAL MOTORS CORP.

    Tighten 

    Tighten the bolts to 25 N.m (18 lb ft).

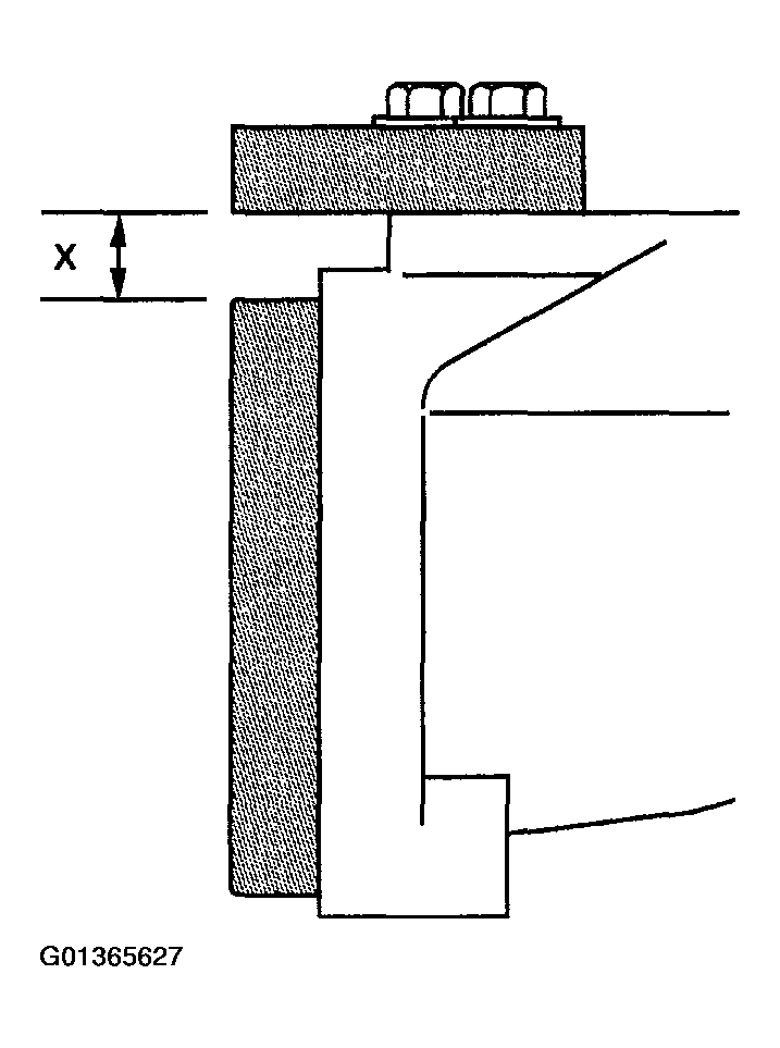
  17. Measure the distance (x) between the J 44757-3 and the J 44757-9 using a feeler gage. Add the measured value (x) to 67.3 mm (2.65 in). Record the value as dimension D.
    Fig 15: Measuring Distance (X) Between J 44757-3 And J 44757-9 Using A Feeler Gage
    G01365627Courtesy of GENERAL MOTORS CORP.
  18. Calculate the extension housing shim thickness. Refer to Figure.