LEMON Manuals: Even more car manuals for everyone
Home >> GMC >> 2002 >> Jimmy 2D Utility, Part Time, Standard >> Repair and Diagnosis >> External Pages >> Different car >> Section 894 (Transfer Case - STEYR (Unit Repair)) >> Repair Instructions >> Transfer Case Assemble >> Extension Housing Assembly And Shim Selection - Procedure A

Extension Housing Assembly And Shim Selection - Procedure A

WARNING: This page is about a different car, the 2003 Pontiac Montana, 2003 Pontiac Aztek, 2003 Oldsmobile Silhouette, 2003 Chevrolet Venture, and 2003 Buick Rendezvous. However, it is still accessible from the selected car via links, so may be relevant.
  1. Use The J 44908  (1) and a hydraulic press in order to install the outer bearing race to the extension housing.
    Fig 1: Installing Outer Bearing Race Using J 44908
    G01365597Courtesy of GENERAL MOTORS CORP.
  2. Use the J 44908  (1) and a hydraulic press in order to install the inner bearing race to the extension housing.
    Fig 2: Installing Inner Bearing Race Using J 44908
    G01365598Courtesy of GENERAL MOTORS CORP.
  3. Measure the distance between the flange on the driven shaft and the end of the pinion. Record the value as dimension B.
    Fig 3: Measuring Distance Between Flange On Driven Shaft And End Of Pinion
    G01365599Courtesy of GENERAL MOTORS CORP.
  4. Use the J 44907  (1) and a hydraulic press in order to install the inner bearing (2) to the driveshaft.
    Fig 4: Installing Inner Bearing Using J 44907 And Press
    G01365600Courtesy of GENERAL MOTORS CORP.
  5. Install the driveshaft (9), NEW spacer (5), and bearing (3) into the extension housing (6).
    Fig 5: Installing Driveshaft, Spacer, And Bearing Into Extension Housing
    G01365601Courtesy of GENERAL MOTORS CORP.
  6. Use the J 5590  (1) and a hydraulic press in order to install the bearing onto the shaft.
    Fig 6: Installing Bearing J 5590 And Press
    G01365602Courtesy of GENERAL MOTORS CORP.
  7. Use the J 36797  (1) in order to install a new oil seal (2) into the extension housing (3).
    Fig 7: Installing Oil Seal Using J 36797
    G01365603Courtesy of GENERAL MOTORS CORP.
  8. Lightly lubricate the splines of the driveshaft with grease.
    Fig 8: Installing Flange Onto Shaft Using A Hydraulic Press
    G01365604Courtesy of GENERAL MOTORS CORP.
  9. Install the flange (1) onto the shaft using a hydraulic press.
    Fig 9: Installing Extension Housing Assembly And Bolts To J 44755
    G01365605Courtesy of GENERAL MOTORS CORP.
  10. Install the extension housing assembly (3) and bolts (1) to the J 44755  (2).

    Tighten 

    Tighten the bolts to 25 N.m (18 lb ft).

  11. Install a new nut (1) onto the shaft.
    Fig 10: Installing Nut Onto Shaft
    G01365606Courtesy of GENERAL MOTORS CORP.

    Tighten 

    • Tighten the nut, with new bearings to 250 N.m (185 lb ft).
    • Tighten the nut, with used bearings to 200 N.m (148 lb ft).
  12. Remove the extension housing assembly and bolts from the J 44755. 
  13. Measure in both directions, the rotating torque of the driveshaft. A properly assembled shaft and NEW bearings should have a rotating torque of 1.5 N.m (13 lb in). When reusing driveshaft bearings, the rotating torque should equal the value recorded during disassembly. Tighten the flange nut as required to achieve the proper rotating torque value.
    Fig 11: Measuring Rotating Torque In Both Direction
    G01365607Courtesy of GENERAL MOTORS CORP.
  14. Measure the distance between the end of the pinion and the extension housing seal surface. Record the value as dimension C.
    Fig 12: Measuring Distance Between End Of Pinion And Extension Housing Seal Surface
    G01365608Courtesy of GENERAL MOTORS CORP.
  15. Install the J 44757-3  (2) into the bore of the housing (1).
    Fig 13: Installing J 44757-3 Into Bore Of Housing
    G01365609Courtesy of GENERAL MOTORS CORP.
  16. Install J 44757-9 (3) and bolts (2) to the housing (1).
    Fig 14: Installing J 44757-9 And Bolts To Housing
    G01365610Courtesy of GENERAL MOTORS CORP.

    Tighten 

    Tighten the bolts to 25 N.m (18 lb ft).

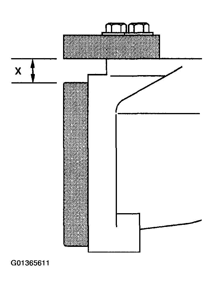
  17. Measure the distance (x) between the J 44757-3 and the J 44757-9 using a feeler gage. Add the measured value (x) to 67.3 mm (2.65 in). Record the value as dimension D.
    Fig 15: Measuring Distance (X) Between J 44757-3 And J 44757-9 Using A Feeler Gage
    G01365611Courtesy of GENERAL MOTORS CORP.
  18. Determine if the driveshaft has a plus, minus, or zero value etched onto the end of the gear. Note that the handwritten 1 (1) and 7 (2) are similar. The 7 (2) will have a line drawn through the number. A comma is to be considered a decimal point.
    Fig 16: Determining Driveshaft Has A Plus, Minus, Or Zero Value
    G01365612Courtesy of GENERAL MOTORS CORP.
  19. Calculate the extension housing shim thickness. Refer to Figure.