LEMON Manuals: Even more car manuals for everyone
Home >> GMC >> 2002 >> Jimmy 2D Utility, Part Time, Standard >> Repair and Diagnosis >> External Pages >> Different car >> Section 1088 (Lighting Systems) >> Component Locator >> Lighting Systems Connector End Views

Lighting Systems Connector End Views

WARNING: This page is about a different car, the 2004 Pontiac Aztek and 2004 Buick Rendezvous. However, it is still accessible from the selected car via links, so may be relevant.
A/T Shift Lever Position Indicator Lamp Connector End View (Pontiac)

GM407137Courtesy of GENERAL MOTORS CORP.
Connector Part Information
  • 12162711
  • 2-Way
Pin Wire Color Circuit No. Function
A GRY 8 Instrument Panel Lamp Supply Voltage
B BLK 1450 Ground
Backup Lamp Connector End View - Left (Buick)

GM744036Courtesy of GENERAL MOTORS CORP.
Connector Part Information
  • 12110053
  • 2-Way Lamp Socket Wedge Base W3 Right Angle (LT GRY)
Pin Wire Color Circuit No. Function
A BRN - Backup Lamp Supply Voltage
B BLK - Ground
Backup Lamp Connector End View - Right (Buick)

GM744036Courtesy of GENERAL MOTORS CORP.
Connector Part Information
  • 12110053
  • 2-Way Lamp Socket Wedge Base W3 Right Angle (LT GRY)
Pin Wire Color Circuit No. Function
A WHT - Backup Lamp Supply Voltage
B BLK - Ground
Backup Lamp Connector End View - Left (Pontiac)

GM82372Courtesy of GENERAL MOTORS CORP.
Connector Part Information
  • 12160393
  • 2-Way Lamp Socket Wedge Base W3 Right Angle (LT GRY)
Pin Wire Color Circuit No. Function
A LT GRN 24 Backup Lamp Supply Voltage
G BLK 850 Ground
Backup Lamp Connector End View - Right (Pontiac)

GM82372Courtesy of GENERAL MOTORS CORP.
Connector Part Information
  • 12160393
  • 2-Way Lamp Socket Wedge Base W3 Right Angle (LT GRY)
Pin Wire Color Circuit No. Function
A LT GRN 24 Backup Lamp Supply Voltage
G BLK 1850 Ground
Cargo Lamp Connector End View (Pontiac)

GM82383Courtesy of GENERAL MOTORS CORP.
Connector Part Information
  • 12047662
  • 2-Way F Metri-Pack 150 Series (BLK)
Pin Wire Color Circuit No. Function
A ORN 1732 Courtesy Lamps Supply Voltage
B GRY/BLK 690 Courtesy Lamp Control
Cargo Lamp Connector End View (Buick)

GM333035Courtesy of GENERAL MOTORS CORP.
Connector Part Information
  • 12047781
  • 3-Way F Metri-Pack 150 Series (BLK)
Pin Wire Color Circuit No. Function
A ORN 1732 Courtesy Lamps Supply Voltage
B BLK 650 Ground
C GRY/BLK 690 Courtesy Lamp Control
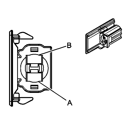
Center High Mounted Stop Lamp (CHMSL) Connector End View

GM35441Courtesy of GENERAL MOTORS CORP.
Connector Part Information
  • 12047663
  • 2-Way M Metri-Pack 150 Series (BLK)
Pin Wire Color Circuit No. Function
A WHT 17 Stop Lamp Switch Signal
B BLK 650 Ground
Console Compartment Lamp Connector End View (Buick)

GM387544Courtesy of GENERAL MOTORS CORP.
Connector Part Information
  • 12124652
  • 2-Way TPA Wedge Base
Pin Wire Color Circuit No. Function
A YEL 9732 Console Compartment Lamps Supply Voltage
B BLK 150 Ground
Console Compartment Lamp Switch Connector End View (Buick)

GM387544Courtesy of GENERAL MOTORS CORP.
Connector Part Information
  • 12124652
  • 2-Way TPA Wedge Base
Pin Wire Color Circuit No. Function
A ORN 1732 Courtesy Lamps Supply Voltage
B YEL 9732 Console Compartment Lamps Supply Voltage
Daytime Running Lamps (DRL) Ambient Light Sensor Connector End View

GM82383Courtesy of GENERAL MOTORS CORP.
Connector Part Information
  • 12047662
  • 2-Way F Metri-Pack 150 Series (BLK)
Pin Wire Color Circuit No. Function
A LT GRN/BLK 1137 Ambient Light Sensor Signal
B YEL/BLK 1138 Ambient Light Sensor Low Reference
Fog Lamp Connector End View - Left

GM646148Courtesy of GENERAL MOTORS CORP.
Connector Part Information
  • 12020599
  • 2-Way F Metri-Pack 280 Series (BLK)
Pin Wire Color Circuit No. Function
A PPL 34 Front Fog Lamps Supply Voltage
B BLK 1350 Ground
Fog Lamp Connector End View - Right

GM646148Courtesy of GENERAL MOTORS CORP.
Connector Part Information
  • 12020599
  • 2-Way F Metri-Pack 280 Series (BLK)
Pin Wire Color Circuit No. Function
A PPL 34 Front Fog Lamps Supply Voltage
B BLK 1250 Ground
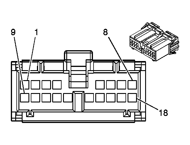
Headlamp Switch Connector End View

GM684891Courtesy of GENERAL MOTORS CORP.
Connector Part Information
  • 15324433
  • 18-Way F SOC (GRN)
Pin Wire Color Circuit No. Function
1 PNK 1444 5-Volt Reference
2 PNK/BLK 1597 Interior Lamp Switch On Signal
3 PPL 328 Interior Lamp Defeat Switch Signal
4 BLK 1550 Ground
5-6 - - Not Used
7 ORN 192 Fog Lamp Switch Signal
8 LT BLU 13 Headlamp Switch Park Lamps Signal
9 BRN/WHT 230 Instrument Panel Lamps Dimming Control
10 GRY/BLK 1798 Low Reference
11 - - Not Used
12 GRY 8 Instrument Panel Lamp Supply Voltage
13 PPL 34 Fog Lamps Supply Voltage
14-15 - - Not Used
16 BLK 1450 Ground
17 YEL 10 Headlamp Switch Signal
18 - - Not Used
Headlamp Connector End View - High Beam - Left

GM684797Courtesy of GENERAL MOTORS CORP.
Connector Part Information
  • 12059182
  • 2-Way F Metri-Pack 280 Series Sealed (BLK)
Pin Wire Color Circuit No. Function
A DK GRN/
WHT
711 Left Headlamp High Beam Supply Voltage
B BLK 1350 Ground
Headlamp Connector End View - High Beam - Right

GM684797Courtesy of GENERAL MOTORS CORP.
Connector Part Information
  • 12059182
  • 2-Way F Metri-Pack 280 Series Sealed (BLK)
Pin Wire Color Circuit No. Function
A LT GRN/BLK 311 Right Headlamp High Beam Supply Voltage
B DK BLU 593 DRL Headlamp High Beam Supply Voltage
Headlamp Connector End View - Low Beam - Left

GM684796Courtesy of GENERAL MOTORS CORP.
Connector Part Information
  • 12059180
  • 2-Way F Metri-Pack 280 Series Sealed (GRY)
Pin Wire Color Circuit No. Function
A YEL 712 Left Headlamp Low Beam Supply Voltage
B BLK 1350 Ground
Headlamp Connector End View - Low Beam - Right

GM684796Courtesy of GENERAL MOTORS CORP.
Connector Part Information
  • 12059180
  • 2-Way F Metri-Pack 280 Series Sealed (GRY)
Pin Wire Color Circuit No. Function
A TAN/WHT 312 Right Headlamp Low Beam Supply Voltage
B BLK 150 Ground
I/P Courtesy Lamp Connector End View - Left

GM407137Courtesy of GENERAL MOTORS CORP.
Connector Part Information
  • 12162711
  • 2-Way Metri-Pack 150 Series (BLK)
Pin Wire Color Circuit No. Function
A ORN 1732 Courtesy Lamps Supply Voltage
B GRY/BLK 690 Courtesy Lamp Control
I/P Courtesy Lamp Connector End View - Right

GM407137Courtesy of GENERAL MOTORS CORP.
Connector Part Information
  • 12162711
  • 2-Way Metri-Pack 150 Series (BLK)
Pin Wire Color Circuit No. Function
A ORN 1732 Courtesy Lamps Supply Voltage
B GRY/BLK 690 Courtesy Lamp Control
License Plate Lamp Connector End View

GM130733Courtesy of GENERAL MOTORS CORP.
Connector Part Information
  • 12146418
  • 2-Way Lamp Socket (WHT)
Pin Wire Color Circuit No. Function
A BRN 9 Park Lamp Supply Voltage (Pontiac)
GRN 9 Park Lamp Supply Voltage (Buick)
B BLK 450 Ground
C900 Connector End View

GM655691Courtesy of GENERAL MOTORS CORP.
Connector Part Information
  • 12146046
  • 4-Way F Metri-Pack 150 Series (GRY)
Pin Wire Color Circuit No. Function
A BRN 9 Park Lamp Supply Voltage
B LT GRN 24 Backup Lamp Supply Voltage
C LT GRN 24 Backup Lamp Supply Voltage
D - - Not Used
E BLK 1150 Ground
Marker Lamp Connector End View - LF (Buick)

GM407137Courtesy of GENERAL MOTORS CORP.
Connector Part Information
  • 12110053
  • 2-Way F (GRY)
Pin Wire Color Circuit No. Function
A BRN 9 Headlamp Switch Park Lamps Signal
B BLK 1350 Ground
Marker Lamp Connector End View - RF (Buick)

GM407137Courtesy of GENERAL MOTORS CORP.
Connector Part Information
  • 12110053
  • 2-Way F (GRY)
Pin Wire Color Circuit No. Function
A BRN 9 Headlamp Switch Park Lamps Signal
B BLK 1250 Ground
Marker Lamp Connector End View - LR (Buick)

GM744036Courtesy of GENERAL MOTORS CORP.
Connector Part Information
  • 12110053
  • 2-Way F (GRY)
Pin Wire Color Circuit No. Function
A DK GRN 9 Headlamp Switch Park Lamps Signal
B BLK 850 Ground
Marker Lamp Connector End View - RR (Buick)

GM744036Courtesy of GENERAL MOTORS CORP.
Connector Part Information
  • 12110053
  • 2-Way F (GRY)
Pin Wire Color Circuit No. Function
A DK GRN 9 Headlamp Switch Park Lamps Signal
B BLK 1850 Ground
Park/Stop/Turn Signal Lamp Connector End View - LR

GM38605Courtesy of GENERAL MOTORS CORP.
Connector Part Information
  • 12160394
  • 3-Way F Lamp Socket Wedge Base W3 Right Angle (WHT)
Pin Wire Color Circuit No. Function
A DK GRN/YEL 18 Left Rear Stop/Turn Lamp Supply Voltage
B BRN 9 Park Lamp Supply Voltage
G BLK 850 Ground
Park/Stop/Turn Signal Lamp Connector End View - RR

GM38605Courtesy of GENERAL MOTORS CORP.
Connector Part Information
  • 12160394
  • 3-Way F Lamp Socket Wedge Base W3 Right Angle (WHT)
Pin Wire Color Circuit No. Function
A DK GRN/YEL 19 Right Rear Stop/Turn Lamp Supply Voltage
B BRN 9 Park Lamp Supply Voltage
G BLK 1850 Ground
Park/Turn Signal Lamp Connector End View - LF

GM82366Courtesy of GENERAL MOTORS CORP.
Connector Part Information
  • 12092379
  • 3-Way F Lamp Socket Wedge Base W3 (BLK)
Pin Wire Color Circuit No. Function
A LT BLU 14 Left Turn Signal Lamps Supply Voltage
B BRN 9 Park Lamp Supply Voltage
G BLK 1350 Ground
Park/Turn Signal Lamp Connector End View - RF

GM82366Courtesy of GENERAL MOTORS CORP.
Connector Part Information
  • 12092379
  • 3-Way F Lamp Socket Wedge Base W3 (BLK)
Pin Wire Color Circuit No. Function
A LT BLU 15 Right Turn Signal Lamps Supply Voltage
B BRN 9 Park Lamp Supply Voltage
G BLK 1250 Ground
Roof Rail Reading Lamp Connector End View - Left (C79 or 1SE)

GM333035Courtesy of GENERAL MOTORS CORP.
Connector Part Information
  • 12047781
  • 3-Way F Metri-Pack 150 Series (BLK)
Pin Wire Color Circuit No. Function
A BLK 650 Ground
B WHT 1732 Courtesy Lamps Supply Voltage
C RED 690 Courtesy Lamp Control
Roof Rail Reading Lamp Connector End View - Right (C79 or 1SE)

GM333035Courtesy of GENERAL MOTORS CORP.
Connector Part Information
  • 12047781
  • 3-Way F Metri-Pack 150 Series (BLK)
Pin Wire Color Circuit No. Function
A BLK 650 Ground
B WHT 1732 Courtesy Lamps Supply Voltage
C RED 690 Courtesy Lamp Control
Stop Lamp Switch Connector End View - C1

GM73251Courtesy of GENERAL MOTORS CORP.
Connector Part Information
  • 12033701
  • 2-Way F Metri-Pack 480 Series (GRY)
Pin Wire Color Circuit No. Function
A ORN 1840 Battery Positive Voltage
B WHT 17 Stop Lamp Switch Signal
Stop Lamp Switch Connector End View - C2

GM40397Courtesy of GENERAL MOTORS CORP.
Connector Part Information
  • 12033706
  • 4-Way F Metri-Pack 280 Series (BLU)
Pin Wire Color Circuit No. Function
A ORN/BLK 1786 Park/Neutral Signal
B DK GRN/
WHT
1135 A/T Shift Lock Control Solenoid Supply Voltage
C PNK 1239 Ignition 1 Voltage
D PPL 420 TCC Brake Switch/Cruise Release Switch Signal
Tail Lamp Connector End View - LR (Buick X2)

GM744036Courtesy of GENERAL MOTORS CORP.
Connector Part Information
  • 12110053
  • 2-Way F Lamp Socket Wedge BAse Assembly (LT GRY)
  • Indexing May Vary
Pin Wire Color Circuit No. Function
A LT GRN - Rear Park Lamps Supply Voltage
B BLK - Ground
Tail Lamp Connector End View - RR (Buick X2)

GM744036Courtesy of GENERAL MOTORS CORP.
Connector Part Information
  • 12110053
  • 2-Way F Lamp Socket Wedge BAse Assembly (LT GRY)
  • Indexing May Vary
Pin Wire Color Circuit No. Function
A LT GRN - Rear Park Lamps Supply Voltage
B BLK - Ground
Turn Signal/Multifunction Switch Connector End View - C1

GM39746Courtesy of GENERAL MOTORS CORP.
Connector Part Information
  • 12064862
  • 8-Way F Metri-Pack 150 Series (BLK)
Pin Wire Color Circuit No. Function
A-B - - Not Used
C BLK 1550 Ground
D LT BLU/WHT 1414 Turn Signal Switch Left Signal
E PNK 539 Ignition 1 Voltage
F DK BLU/
WHT
1415 Turn Signal Switch Right Signal
G BLK 28 Horn Relay Control
H TAN 2144 Hazard Switch Signal
Turn Signal/Multifunction Switch Connector End View - C2

GM130718Courtesy of GENERAL MOTORS CORP.
Connector Part Information
  • 12059800
  • 5-Way F Metri-Pack 150 Series (BLK)
Pin Wire Color Circuit No. Function
A BLK/WHT 1969 Headlamp High Beam Relay Control
B BLK 1450 Ground
C PNK/WHT 1970 Headlamp Low Beam Relay Control
D BLK 910 Headlamp Low/High Beam Relay Control
E BLK/WHT 1969 Headlamp High Beam Relay Control
Turn Signal/Multifunction Switch C3 Connector End View

GM811190Courtesy of GENERAL MOTORS CORP.
Connector Part Information
  • 15339058
  • 7-Way F Metri-Pack 150 Series (GRY)
Pin Wire Color Circuit No. Function
G-H - - Not Used
J RED 228 Windshield Washer Pump Control
K YEL 243 Accessory Voltage
L GRY 112 Windshield Wiper Switch Signal 1
M DK GRN 113 Windshield Wiper Switch Signal 2
N PPL 92 Windshield Wiper Motor High Speed
Turn Signal/Multifunction Switch C4 (K34) Connector End View

GM39661Courtesy of GENERAL MOTORS CORP.
Connector Part Information
  • 12047786
  • 4-Way M 150 Series (BLK)
Pin Wire Color Circuit No. Function
A PNK 39 Ignition 1 Voltage
B GRY 397 Cruise Control On Switch Signal
C GRY/BLK 87 Cruise Control Resume/Accel Switch Signal
D DK BLU 84 Cruise Control Set/Coast Switch Signal
Vanity Mirror Connector End View - Left (DH9)

GM35441Courtesy of GENERAL MOTORS CORP.
Connector Part Information
  • 12047663
  • 2-Way M Metri-Pack 150 Series (BLK)
Pin Wire Color Circuit No. Function
A GRY 1732 Courtesy Lamps Supply Voltage
B BLK 650 Ground
Vanity Mirror Connector End View - Right (DH9)

GM35441Courtesy of GENERAL MOTORS CORP.
Connector Part Information
  • 12047663
  • 2-Way M Metri-Pack 150 Series (BLK)
Pin Wire Color Circuit No. Function
A GRY 1732 Courtesy Lamps Supply Voltage
B BLK 650 Ground