LEMON Manuals: Even more car manuals for everyone
Home >> GMC >> 2002 >> Jimmy 2D Utility, Part Time, Automatic >> Repair and Diagnosis >> External Pages >> Different car >> Section 995 (Power Steering System) >> Schematic and Routing Diagrams >> Power Steering System Schematics

Power Steering System Schematics

WARNING: This page is about a different car, the 2004 GMC Sierra, 2004 GMC Cab & Chassis Sierra, 2004 Chevrolet Silverado, and 2004 Chevrolet Cab & Chassis Silverado. However, it is still accessible from the selected car via links, so may be relevant.
Fig 1: Power, Ground, Serial Data, Steering Wheel/Speed, and Brake Pedal Position Sensors
GM1329243Courtesy of GENERAL MOTORS CORP.
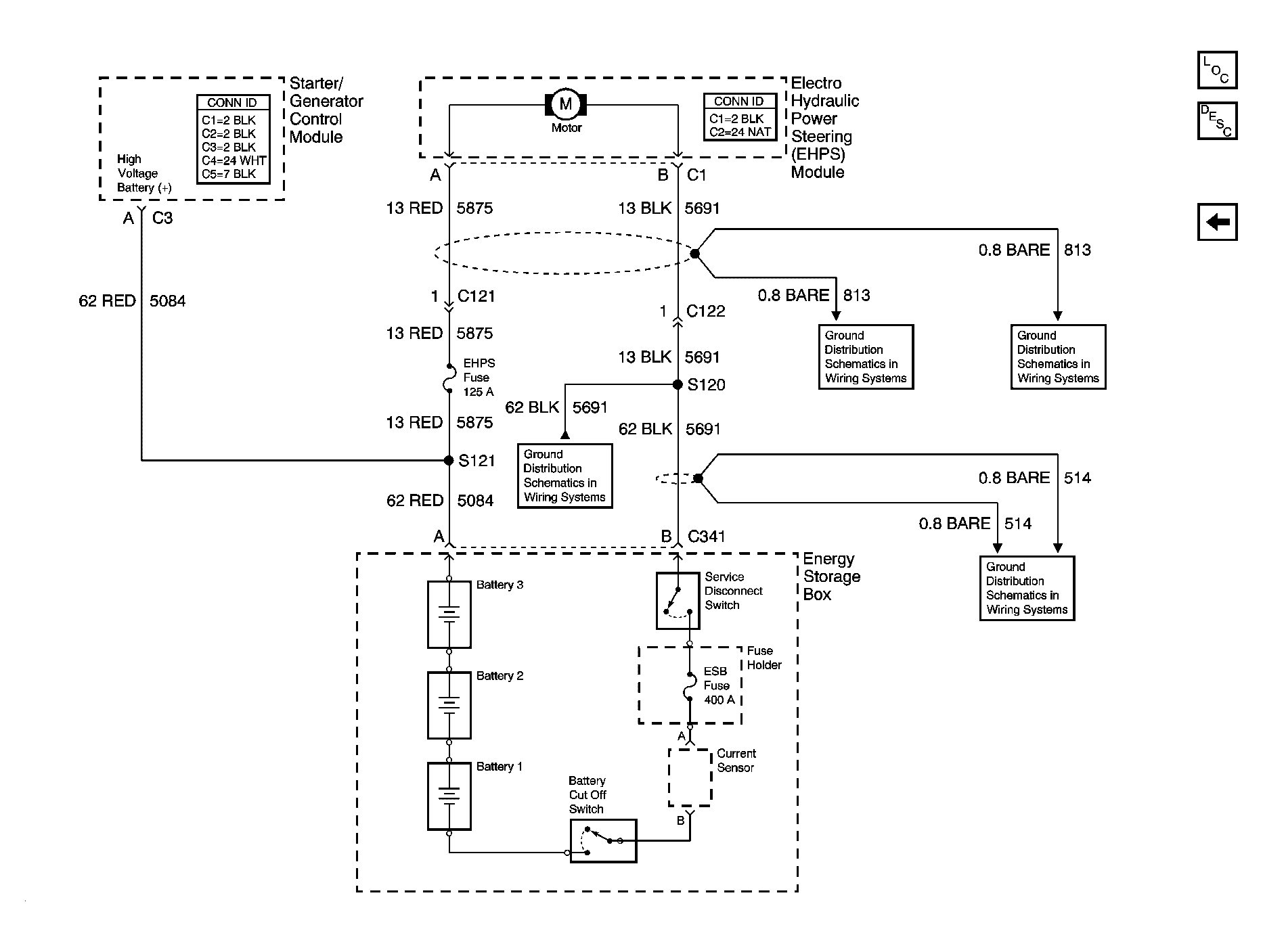
Fig 2: Hydraulic Motor Power and Ground
GM1329326Courtesy of GENERAL MOTORS CORP.