LEMON Manuals: Even more car manuals for everyone
Home >> GMC >> 2002 >> Jimmy 2D Utility, Part Time, Automatic >> Repair and Diagnosis >> External Pages >> Different car >> Section 979 (Engine Controls - 6.6L (Lb7) (Introduction)) >> Component Locator >> Engine Controls Connectors

Engine Controls Connectors

WARNING: This page is about a different car, the 2004 GMC Sierra, 2004 GMC Cab & Chassis Sierra, 2004 Chevrolet Silverado, and 2004 Chevrolet Cab & Chassis Silverado. However, it is still accessible from the selected car via links, so may be relevant.
Accelerator Pedal Position (APP) Sensor

GM366097Courtesy of GENERAL MOTORS CORP.
Connector Part Information
  • 15318071
  • 10-Way F Metri-pack 150 Series (GRY)
Pin Wire Color Circuit No. Function
A GRY 1273 Low Reference
B PPL 1272 Low Reference
C LT BLU 1162 APP Sensor 2 Signal
D TAN 1274 5 Volt Reference
E BRN 971 Low Reference
F DK BLU 1161 APP Sensor 1 Signal
G WHT/BLK 1164 5 Volt Reference
H - - Not Used
J YEL/BLK 975 5 Volt Reference
K DK GRN 1163 APP Sensor 3 Signal
BARO Sensor

GM684840Courtesy of GENERAL MOTORS CORP.
Connector Part Information
  • 12129946
  • 3-Way F M/P 150 Series Sealed (GRY)
Pin Wire Color Circuit No. Function
A ORN/BLK 1057 Low Reference
B GRY/BLK 433 BARO Sensor Signal
C WHT/BLK 2932 5 Volt Reference
Camshaft Position (CMP) Sensor

GM684840Courtesy of GENERAL MOTORS CORP.
Connector Part Information
  • 12129946
  • 3-Way F 150 Series Sealed (GRY)
Pin Wire Color Circuit No. Function
A RED 631 12 Volt Reference
B PNK/BLK 632 Low Reference
C BRN/WHT 633 CMP Sensor Signal
Coolant Level Switch

GM655783Courtesy of GENERAL MOTORS CORP.
Connector Part Information
  • 15324243
  • 2-Way F M/P 150 Series Sealed (GRY)
Pin Wire Color Circuit No. Function
A LT GRN 1478 Coolant Level Switch Signal
B BLK 550 Ground
Crankshaft Position (CKP) Sensor

GM684840Courtesy of GENERAL MOTORS CORP.
Connector Part Information
  • 12129946
  • 3-Way F 150 Series Sealed (GRY)
Pin Wire Color Circuit No. Function
A LT GRN 1867 12 Volt Reference
B YEL/BLK 1868 Low Reference
C DK BLU/WHT 1869 CKP Sensor Signal
Engine Coolant Temperature (ECT) Sensor

GM646176Courtesy of GENERAL MOTORS CORP.
Connector Part Information
  • 12162195
  • 2-Way F SER 150.2 Series Sealed (BLK)
Pin Wire Color Circuit No. Function
A GRY 720 Low Reference
B YEL 410 ECT Sensor Signal
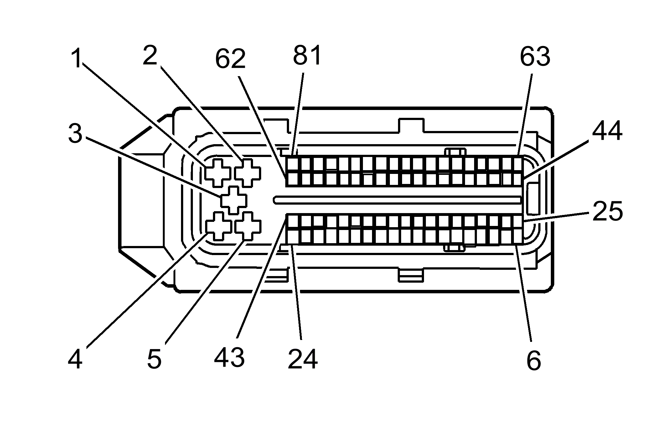
Fuel Injection Control Module (FICM) Connector - C1

GM743315Courtesy of GENERAL MOTORS CORP.
Connector Part Information
  • 1928403454
  • 81 Way F Bosch Series (BLK)
Pin Wire Color Circuit No. Function
1 LT GRN/WHT - Fuel Injector 4 Command
2 BLK - Ground
3 ORN/BLK - Ignition Voltage
4 LT GRN/RED - Fuel Injector 1 Command
5 PNK 1239 Ignition 1 Voltage
6-43 - - Not Used
44 LT BLU/BLK 844 Fuel Injector 4 Control
45 BLU/WHT 845 Fuel Injector 5 Control
46 - - Not Used
47 PNK/BLK 1746 Fuel Injector 3 Control
48 RED/BLK 877 Fuel Injector 7 Control
49-58 - - Not Used
59 LT GRN/PPL - Fuel Injector 6 Command
60 LT GRN/PPL - Fuel Injector 6 Command
61 LT GRN/ORN - Fuel Injector 7 Command
62 LT GRN/ORN - Fuel Injector 7 Command
63 DK BLU/WHT 878 Fuel Injector 8 Control
64 YEL/BLK 846 Fuel Injector 6 Control
65 - - Not Used
66 BLK 1744 Fuel Injector 1 Control
67 LT GRN/BLK 1745 Fuel Injector 2 Control
68-81 - - Not Used
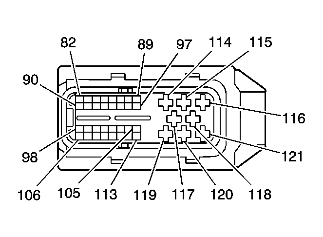
Fuel Injection Control Module (FICM) Connector - C2

GM743317Courtesy of GENERAL MOTORS CORP.
Connector Part Information
  • 1928403462
  • 40 Way F Bosch Series (BLK)
Pin Wire Color Circuit No. Function
82-89 - - Not Used
90 DK GRN 2362 CAN Serial Data Low
91 YEL 2361 CAN Serial Data High
92-93 - - Not Used
94 LT BLU 2832 Engine Speed Signal
95-113 - - Not Used
114 - - Ground
115 LT GRN/BLK - Fuel Injector 3 Command
116 LT GRN/RED - Fuel Injector 5 Command
117 - - Not Used
118 ORN/WHT - Ignition Voltage
119 PNK 1239 Ignition Voltage
120 LT GRN/GRN - Fuel Injector 8 Command
121 LT GRN - Fuel Injector 2 Command
Fuel Injector 1, 3

GM684908Courtesy of GENERAL MOTORS CORP.
Connector Part Information
  • 15326632
  • 4-Way F GT 280 Series Sealed (BLK)
Pin Wire Color Circuit No. Function
A ORN/BLK - Ignition Voltage
B LT GRN/BLK - Fuel Injector 1 Control
C ORN/WHT - Ignition Voltage
D LT GRN/BLK - Fuel Injector 3 Control
Fuel Injector 2, 4

GM684908Courtesy of GENERAL MOTORS CORP.
Connector Part Information
  • 15326632
  • 4-Way F GT 280 Series Sealed (BLK)
Pin Wire Color Circuit No. Function
A ORN/BLK - Ignition Voltage
B LT GRN/WHT - Fuel Injector 4 Control
C ORN/WHT - Ignition Voltage
D LT GRN - Fuel Injector 2 Control
Fuel Injector 5, 7

GM684908Courtesy of GENERAL MOTORS CORP.
Connector Part Information
  • 15326632
  • 4-Way F GT 280 Series Sealed (BLK)
Pin Wire Color Circuit No. Function
A ORN/WHT - Ignition Voltage
B LT GRN/RED - Fuel Injector 5 Control
C ORN/BLK - Ignition Voltage
D LT GRN/ORN - Fuel Injector 7 Control
Fuel Injector 6, 8

GM684908Courtesy of GENERAL MOTORS CORP.
Connector Part Information
  • 15326632
  • 4-Way F GT 280 Series Sealed (BLK)
Pin Wire Color Circuit No. Function
A ORN/WHT - Ignition Voltage
B LT GRN/GRN - Fuel Injector 8 Control
C ORN/BLK - Ignition Voltage
D LT GRN/PPL - Fuel Injector 6 Control
Fuel Pump

GM365945Courtesy of GENERAL MOTORS CORP.
Connector Part Information
  • 12059450
  • 2-Way M Metri-pack 280 Series Sealed (BLK)
Pin Wire Color Circuit No. Function
A GRY 120 Fuel Pump Supply Voltage
B BLK 1650 Ground (20 Series)
BLK 2150 Ground (30 Series)
Fuel Level Sensor - Primary

GM684847Courtesy of GENERAL MOTORS CORP.
Connector Part Information
  • 12160563
  • 2-Way F Metri-pack 150 Series Sealed (NAT)
Pin Wire Color Circuit No. Function
A PPL 1589 Fuel Level Sensor Signal - Primary
D ORN/BLK 510 Low Reference
Fuel Level Sensor - Secondary

GM684847Courtesy of GENERAL MOTORS CORP.
Connector Part Information
  • 12160563
  • 2-Way F Metri-pack 150 Series Sealed (NAT)
Pin Wire Color Circuit No. Function
A DK BLU 1936 Fuel Level Sensor Signal - Secondary
D ORN/BLK 510 Low Reference
Intake Air Temperature (IAT)/Mass Air Flow (MAF) Sensor

GM655786Courtesy of GENERAL MOTORS CORP.
Connector Part Information
  • 15324447
  • 5-Way F 090II SLD (BLK)
Pin Wire Color Circuit No. Function
1 BLK 552 Low Reference
2 TAN 472 IAT Sensor Signal
3 PNK 239 Ignition 1 Voltage
4 GRY/BLK 2931 Low Reference
5 YEL 492 MAF Sensor Signal
Park/Neutral Position Switch - C1

GM535904Courtesy of GENERAL MOTORS CORP.
Connector Part Information
  • 12191757
  • 4-Way F Metri-pack 150 (LT GRY)
Pin Wire Color Circuit No. Function
A BLK/WHT 771 Transmission Range Switch Signal A
B GRY 773 Transmission Range Switch Signal C
C WHT 776 Transmission Range Switch Signal P
D YEL 772 Transmission Range Switch Signal B
Park/Neutral Position Switch - C2

GM535900Courtesy of GENERAL MOTORS CORP.
Connector Part Information
  • 12129840
  • 7-Way F Metri-pack 150 280 (MD GRY)
Pin Wire Color Circuit No. Function
A ORN/BLK 1786 Park/Neutral - Signal
B LT GRN 275 Park Neutral Position Switch Park Signal
C PNK 839 Ignition 1 Voltage
D BLK/WHT 451 Ground
E PPL/WHT 1035 Starter Relay Coil Supply Voltage
F LT GRN 24 Backup Lamp Supply Voltage
G YEL 1737 Neutral Safety Switch Park/Neutral Signal