LEMON Manuals: Even more car manuals for everyone
Home >> GMC >> 2002 >> Jimmy 2D Utility, Part Time, Automatic >> Repair and Diagnosis >> External Pages >> Different car >> Section 957 (Lighting Systems) >> Component Locator >> Lighting Systems Component Views

Lighting Systems Component Views

WARNING: This page is about a different car, the 2004 GMC Sierra, 2004 GMC Cab & Chassis Sierra, 2004 Chevrolet Silverado, and 2004 Chevrolet Cab & Chassis Silverado. However, it is still accessible from the selected car via links, so may be relevant.
Fig 1: Front Lamps
GM899933Courtesy of GENERAL MOTORS CORP.
Callout Component Name
1 Headlamp - High Beam - Right
2 Daytime Running Lamp (DRL) - Right
3 Exterior Illumination Lamp
4 Headlamp - High Beam - Left
5 Headlamp - Low Beam - Left
6 Marker Lamp - LF
7 Park/Turn Signal Lamp - LF
8 Daytime Running Lamp (DRL) - Left
9 Fog Lamp - LF
10 Fog Lamp - RF
11 Marker Lamp - RF
12 Park/Turn Signal Lamp - RF
13 Headlamp - Low Beam - Right
Fig 2: Roof Marker and Clearance Lamps
GM762107Courtesy of GENERAL MOTORS CORP.
Callout Component Name
1 Roof Marker Lamp and Harness - Right
2 Roof Marker Lamp and Harness - Left
3 Clearance Lamps and Harness
Fig 3: LR of the Engine Compartment Connector Views (5Y0)
GM1371090Courtesy of GENERAL MOTORS CORP.
Callout Component Name
1 Brake/Clutch Harness
2 Fuse Block - Underhood
3 Emergency Vehicle Roof Lamp Relay
4 C160
5 C119
6 C161
7 Chassis Harness
Fig 4: Junction Block Connector Views - Rear Lamps
GM764894Courtesy of GENERAL MOTORS CORP.
Callout Component Name
1 Frame
2 Junction Block-Rear Lamps
3 Junction Block Mounting Bracket
Fig 5: Ambient Light Sensor Connector Views
GM310130Courtesy of GENERAL MOTORS CORP.
Callout Component Name
1 Instrument Panel Bracket
2 I/P Harness
3 Ambient Light Sensor Connector
4 Ambient Light Sensor (CJ3) or Sunload Sensor (CJ2)
5 Instrument Panel Defroster Deflector
Fig 6: Steering Column Components
GM349986Courtesy of GENERAL MOTORS CORP.
Callout Component Name
1 Hazard Button
2 Multifunction Lever
3 Cruise Control Switches
4 Tilt Steering Actuator
5 Inflatable Restraint Harness
6 C201 Inline Connector
Fig 7: Stop Lamp Switch Components
GM349997Courtesy of GENERAL MOTORS CORP.
Callout Component Name
1 Vacuum Booster
2 Brake Pedal
3 Stop Lamp Switch
4 Accelerator Pedal
5 Stop Lamp Switch Retainer
6 Dash Panel
Fig 8: Above Front Windshield Connector Views
GM1322532Courtesy of GENERAL MOTORS CORP.
Callout Component Name
1 Vanity Mirror Lamp - Left Connector
2 Left Sunshade
3 Right Sunshade
4 Vanity Mirror Lamp - Right Connector
5 Vanity Mirror Lamp - Right
6 Inside Rearview Mirror
7 Vanity Mirror Lamp - Left
Fig 9: Overhead Console Connector Views
GM851794Courtesy of GENERAL MOTORS CORP.
Callout Component Name
1 Cellular Microphone
2 Courtesy/Reading Lamps - Front
3 C355
4 Cellular Microphone Connector
5 Overhead Console
Fig 10: Instrument Panel Switches-LH Connector Views
GM310113Courtesy of GENERAL MOTORS CORP.
Callout Component Name
1 Automatic Transfer Case (ATC) Electrical Connector
2 Automatic Transfer Case (ATC) Electrical Connector
3 Automatic Transfer Case (ATC) Select Switch
4 Cargo/Fog Lamp Switch
5 Headlamp and Panel Dimmer Switch
6 Instrument Panel
7 Headlamp and Panel Dimmer Switch Electrical Connector
8 Cargo/Fog Lamp Switch Electrical Connector
Fig 11: Accessory Switch Housing Connector Views
GM350001Courtesy of GENERAL MOTORS CORP.
Callout Component Name
1 Fog Lamp Switch (Export)
2 Roof Beacon Switch (5X7, 5Y0, 5G4, or TRW)
2 Roof Beacon Switch (5X7, 5Y0, 5G4, or TRW)
3 Accessory Switch Housing
3 Accessory Switch Housing
4 Instrument Panel
Fig 12: Manual Transmission - NV 3500 Connector Views
GM787990Courtesy of GENERAL MOTORS CORP.
Callout Component Name
1 Vehicle Speed Sensor
2 NV 3500 Transmission
3 Oxygen Sensor Downstream Connector
4 Backup Lamp Switch
5 Oxygen Sensor Upstream Connector
Fig 13: Driver Door Courtesy Lamp Connector Views (RH Similar)
GM350018Courtesy of GENERAL MOTORS CORP.
Callout Component Name
1 Door Courtesy Lamp Electrical Connector
2 Door Courtesy Lamp
3 Driver Door
Fig 14: LR Fender Components (NYS or E63)
GM1373390Courtesy of GENERAL MOTORS CORP.
Callout Component Name
1 LR Fender
2 Clearance Lamp - LR
3 Clearance Lamp - LF
Fig 15: Right Rear Fender Components (NY5 or E63)
GM1461306Courtesy of GENERAL MOTORS CORP.
Callout Component Name
1 Right Rear Fender
2 Clearance Lamp - Right Front
3 Clearance Lamp - Right Rear
Fig 16: Rear Lamp Locations
GM914265Courtesy of GENERAL MOTORS CORP.
Callout Component Name
1 Tail/Stop Lamp - Left
2 Cargo Lamp
3 Center High Mounted Stop Lamp (CHMSL)
4 Cargo Lamp
5 Tail/Stop Lamp - Right
6 Turn Signal Lamp - RR
7 Backup Lamp - Right
8 Marker Lamp - RR
9 License Lamp - Right
10 License Lamp - Left
11 Marker Lamp - LR
12 Backup Lamp - Left
13 Turn Signal Lamp - LR
Fig 17: License Lamp, w/o Bumper Connector Views
GM350024Courtesy of GENERAL MOTORS CORP.
Callout Component Name
1 Frame
2 License Lamp Electrical Connector
3 License Lamp
Fig 18: Marker Lamp & Tail Gate (NY5 or E63)
GM1461301Courtesy of GENERAL MOTORS CORP.
Callout Component Name
1 Marker Lamp - Tail Gate
2 Tail Gate
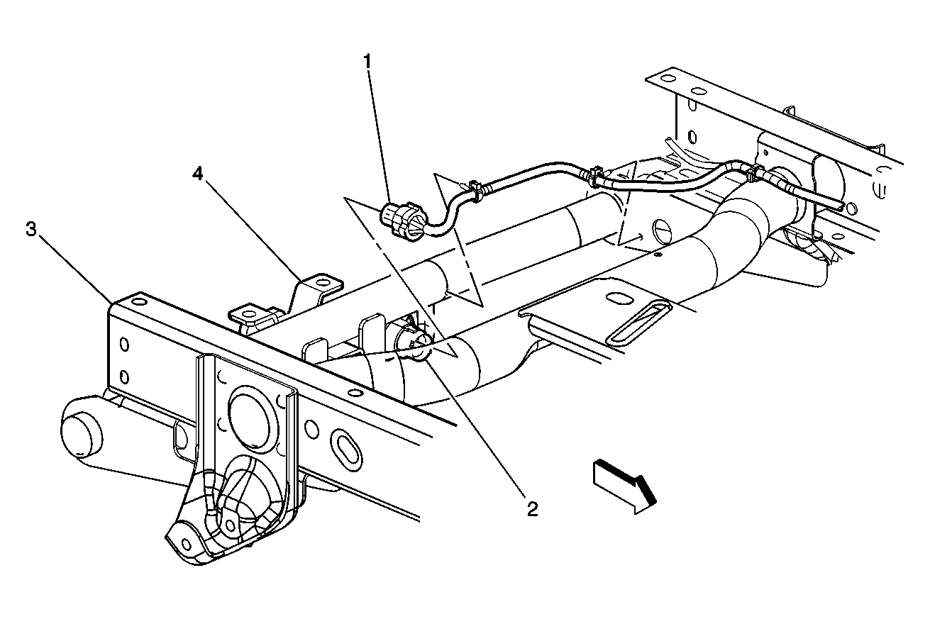
Fig 19: Heavy Duty Trailer Wiring Connector Views
GM349960Courtesy of GENERAL MOTORS CORP.
Callout Component Name
1 Trailer Wiring Connector
2 Trailer Wiring Receptacle
3 Frame
4 Trailer Hitch Receiver