LEMON Manuals: Even more car manuals for everyone
Home >> GMC >> 2002 >> Jimmy 2D Utility, Part Time, Automatic >> Repair and Diagnosis >> External Pages >> Different car >> Section 955 (Stationary Window System) >> Component Locator >> Stationary Windows Component Views

Stationary Windows Component Views

WARNING: This page is about a different car, the 2004 GMC Sierra, 2004 GMC Cab & Chassis Sierra, 2004 Chevrolet Silverado, and 2004 Chevrolet Cab & Chassis Silverado. However, it is still accessible from the selected car via links, so may be relevant.
Fig 1: Inside Rearview Mirror
GM309865Courtesy of GENERAL MOTORS CORP.
Callout Component Name
1 Inside Rearview Mirror Connector
2 Inside Rearview Mirror
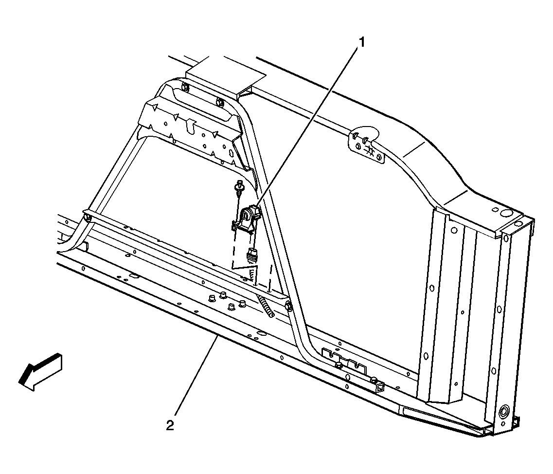
Fig 2: Air Temperature Sensor - Outside
GM832711Courtesy of GENERAL MOTORS CORP.
Callout Component Name
1 Air Temperature Sensor - Outside
2 Radiator Support