LEMON Manuals: Even more car manuals for everyone
Home >> GMC >> 2002 >> Jimmy 2D Utility, Part Time, Automatic >> Repair and Diagnosis >> External Pages >> Different car >> Section 1749 (Wiper System And Washer System) >> Component Locator >> Wiper/Washer System Connector End Views

Wiper/Washer System Connector End Views

WARNING: This page is about a different car, the 2003 Saturn Vue. However, it is still accessible from the selected car via links, so may be relevant.
Windshield Washer Fluid Pump

GM1283118Courtesy of GENERAL MOTORS CORP.
Connector Part Information
  • 15305325
  • 2-Way F Mini Timer (BK)
Pin Wire Color Circuit Number Function
1 D-GN 392 Rear Window Washer Pump Control
2 RD 228 Windshield Washer Pump Control
Windshield Wiper Motor

GM243503Courtesy of GENERAL MOTORS CORP.
Connector Part Information
  • 12084891
  • 5-Way F Metri-Pack 280 Series Sealed (GY)
Pin Wire Color Circuit Number Function
A YE 343 Accessory Voltage
B YE 196 Windshield Wiper Motor Park Switch Signal
C BK 650 Ground
D PU 92 Windshield Wiper Motor High Speed
E D-GN 95 Windshield Wiper Motor Low Speed
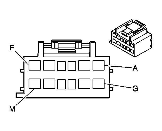
Windshield Wiper/Washer Switch

GM524242Courtesy of GENERAL MOTORS CORP.
Connector Part Information
  • 15336888
  • 12-Way F GT 150 280 (BK)
Pin Wire Color Circuit Number Function
A BK 550 Ground
B D-GN 392 Rear Window Washer Pump Control
C D-GN 113 Windshield Wiper Switch Signal
D GY 112 Low Reference
E PK 94 Rear Wiper Switch Signal
F YE 343 Accessory Voltage
G PU 92 Windshield Wiper Motor High Speed
H D-GN 95 Windshield Wiper Motor Low Speed
J L-BU 97 Windshield Wiper Switch Mist/Off/Low Signal
K BN 96 Windshield Wiper Switch Pulse Delay Signal
L - - Not Used
M RD 228 Windshield Washer Pump Control
Wiper Motor - Rear

GM1282956Courtesy of GENERAL MOTORS CORP.
Connector Part Information
  • 7283-5539-40
  • 3-Way F (L-GY)
Pin Wire Color Circuit Number Function
1 WH 393 Rear Window Wiper Motor Control
2 BK 650 Ground
3 YE 143 Accessory Voltage