LEMON Manuals: Even more car manuals for everyone
Home >> GMC >> 2002 >> Jimmy 2D Utility, Part Time, Automatic >> Repair and Diagnosis >> External Pages >> Different car >> Section 1736 (Battery) >> Component Locator >> Engine Electrical Connector End Views

Engine Electrical Connector End Views

WARNING: This page is about a different car, the 2003 Saturn Vue. However, it is still accessible from the selected car via links, so may be relevant.
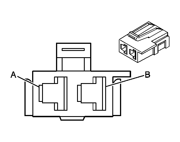
Clutch Start Switch (w/ M/T)

GM806621Courtesy of GENERAL MOTORS CORP.
Connector Part Information
  • 12034417
  • 2-Way F Metri-Pack 480 Series (BK)
Pin Wire Color Circuit Number Function
A YE 5 Crank Voltage
B PU 6 Starter Solenoid Crank Voltage
Generator

GM696955Courtesy of GENERAL MOTORS CORP.
Connector Part Information
  • 12186566
  • 4-Way F Metri-Pack 150 Series Sealed (NA)
Pin Wire Color Circuit Number Function
A - - Not Used
B RD 225 Generator Turn On Signal
C-D - - Not Used