LEMON Manuals: Even more car manuals for everyone
Home >> GMC >> 2002 >> Jimmy 2D Utility, Part Time, Automatic >> Repair and Diagnosis >> External Pages >> Different car >> Section 1340 (Keyless Entry System) >> Repair Instructions >> Remote Control Door Lock Receiver Replacement >> Installation Procedure

Installation Procedure

WARNING: This page is about a different car, the 2004 Pontiac Vibe. However, it is still accessible from the selected car via links, so may be relevant.
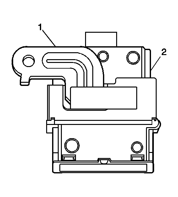
    Fig 1: Remote Control Door Lock Receiver & Mounting Bracket
    GM860853Courtesy of GENERAL MOTORS CORP.
  1. Instal the remote control door lock receiver (2) to the mounting bracket (1), if removed.
  2. Fig 2: Remote Control Door Lock Receiver, Electrical Connector And Bolt
    GM860850Courtesy of GENERAL MOTORS CORP.
  3. Install the remote control door lock receiver (1) to the vehicle.
  4. NOTE: Refer to Fastener Notice in Cautions and Notices.
  5. Install the bolt (3) to the door lock receiver (1).

    Tighten:  Tighten the remote control door lock receiver bolt to 10 N.m (89 lb in).

  6. Connect the remote control door lock receiver electrical connector (2).
  7. Install the right upper quarter panel trim. Refer to Trim Panel Replacement- Rear Quarter Upper in Interior Trim.
  8. Connect the negative battery cable.
  9. Reprogram the remote control door lock receiver, if necessary. Refer to Transmitter Programming  in Keyless Entry.