LEMON Manuals: Even more car manuals for everyone
Home >> GMC >> 2002 >> Jimmy 2D Utility, Part Time, Automatic >> Repair and Diagnosis >> External Pages >> Different car >> Section 1183 (Variable Effort Steering System) >> Schematic and Routing Diagrams >> Steering Controls Schematics

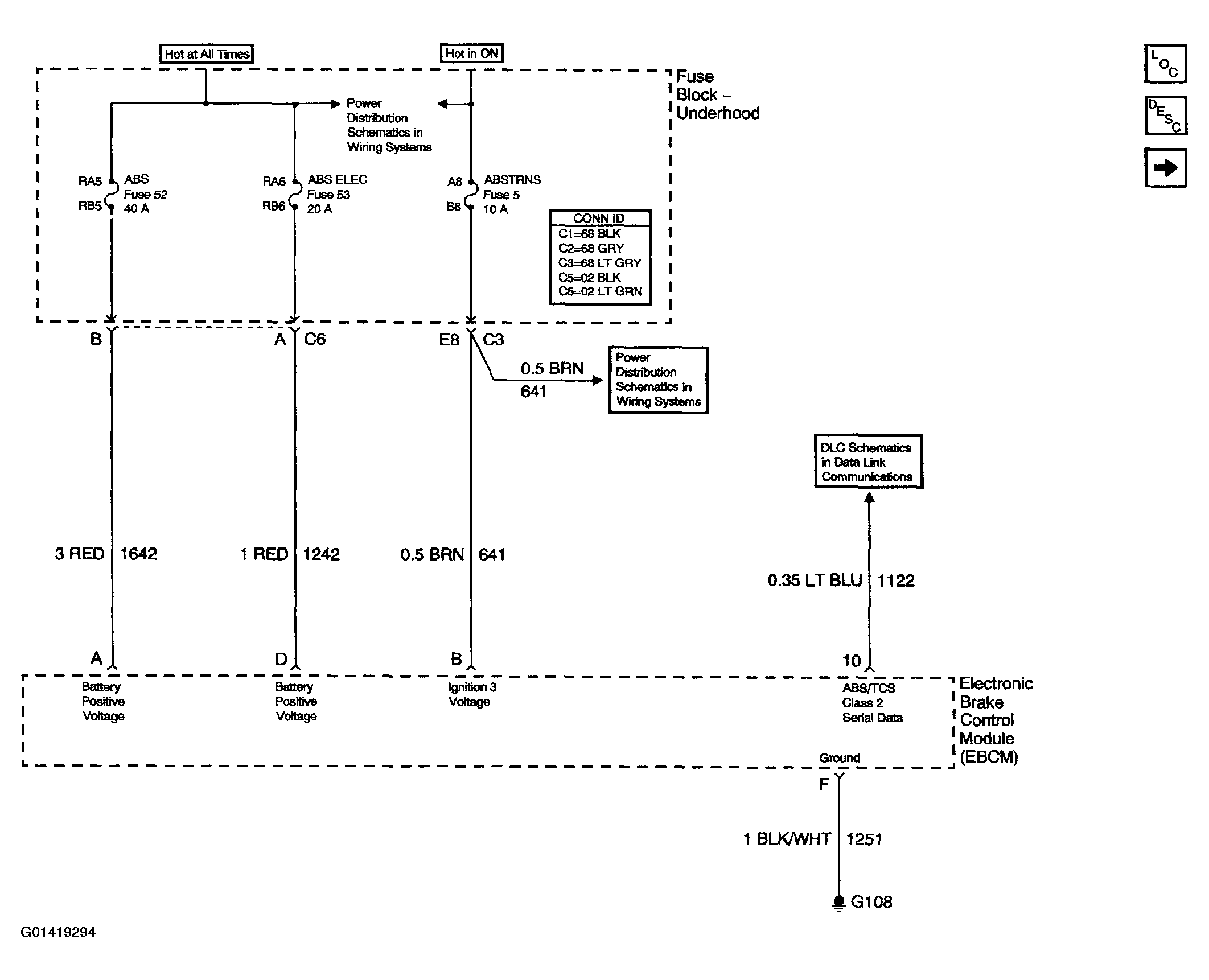
Steering Controls Schematics

WARNING: This page is about a different car, the 2003 Chevrolet Corvette. However, it is still accessible from the selected car via links, so may be relevant.
Fig 1: Steering Controls Schematics (Power, Ground, & DLC)
G01419294Courtesy of GENERAL MOTORS CORP.
Fig 2: Steering Controls Schematics (Steering Wheel Position Sensor)
G01419295Courtesy of GENERAL MOTORS CORP.