LEMON Manuals: Even more car manuals for everyone
Home >> GMC >> 2002 >> Jimmy 2D Utility, Part Time, Automatic >> Repair and Diagnosis >> External Pages >> Different car >> Section 1103 (Supplemental Inflatable Restraint System) >> Component Locator >> SIR Connector End Views

SIR Connector End Views

WARNING: This page is about a different car, the 2004 Pontiac Aztek and 2004 Buick Rendezvous. However, it is still accessible from the selected car via links, so may be relevant.
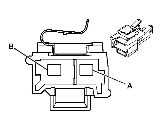
Inflatable Restraint Front End Sensor Connector End View - Left (Buick)

GM744055Courtesy of GENERAL MOTORS CORP.
Connector Part Information
  • 15356722
  • 2-Way F 150 Series Sealed (YEL)
Pin Wire Color Circuit No. Function
A YEL 9901 Inflatable Restraint Front End Sensor - Left - Signal
B GRY 9904 Inflatable Restraint Front End Sensor - Left - Voltage
Inflatable Restraint Front End Sensor - Right (Buick)

GM744055Courtesy of GENERAL MOTORS CORP.
Connector Part Information
  • 15356722
  • 2-Way F 150 Series Sealed (YEL)
Pin Wire Color Circuit No. Function
A BLK 9906 Inflatable Restraint Front End Sensor - Right - Signal
B GRY 9902 Inflatable Restraint Front End Sensor - Right - Voltage
Inflatable Restraint I/P Module Connector End View - Pontiac

GM295469Courtesy of GENERAL MOTORS CORP.
Connector Part Information
  • 12110505
  • 2-Way F Metri-Pack 150 Series (YEL)
Pin Wire Color Circuit No. Function
A DK GRN/
WHT
1404 I/P Module Low Control
B WHT/BLK 1403 I/P Module High Control
Inflatable Restraint Steering Wheel Module Connector End View - Pontiac

GM966360Courtesy of GENERAL MOTORS CORP.
Connector Part Information
  • 54560210
  • 2-Way F ABX-3 Code B (YEL)
Pin Wire Color Circuit No. Function
A WHT 347 Steering Wheel Module - High Control
B DK GRN 348 Steering Wheel Module - Low Control
Inflatable Restraint I/P Module Connector End View - Buick

GM594476Courtesy of GENERAL MOTORS CORP.
Connector Part Information
  • 15336477
  • 4-Way M Metri-Pack 280 Series (YEL)
Pin Wire Color Circuit No. Function
A1 YEL 3025 I/P Module - Stage 1 - High Control
A2 ORN 3024 I/P Module - Stage 1 - Low Control
B1 GRY 3027 I/P Module - Stage 2 - High Control
B2 PPL 3026 I/P Module - Stage 2 - Low Control
Inflatable Restraint Sensing and Diagnostic Module Connector End View (SDM) (Pontiac)

GM470412Courtesy of GENERAL MOTORS CORP.
Connector Part Information
  • 15354773
  • 34-Way F Micro-Pack (YEL)
Pin Wire Color Circuit No. Function
A1 WHT 347 Steering Wheel Module High Control
A2 DK GRN 348 Steering Wheel Module Low Control
A3 DK GRN/
WHT
1404 I/P Module Low Control
A4 WHT/BLK 1403 I/P Module High Control
A5 BRN 2137 Side Impact Module - LF High Control (AJ7)
A6 YEL/BLK 2138 Side Impact Module - LF Low Control (AJ7)
A7 LT GRN 2136 Side Impact Module - RF Low Control (AJ7)
A8 BLK/WHT 2135 Side Impact Module - RF High Control (AJ7)
A9 BLK/WHT 1751 Ground
A10 YEL 1139 Ignition 1 Voltage
A11 DK BLU 1128 Class 2 Serial Data
A12-13 - - Not Used
A14 BLK/WHT 238 Seat Belt Switch - Left
A15-A18 - - Not Used
B1-B8 - - Not Used
C1-C4 - - Not Used
C5 YEL 2131 Side Impact Sensing Module - Left - Voltage (AJ7)
C6 WHT 2132 Side Impact Sensing Module - Left - Signal (AJ7)
C7 DK GRN 2134 Side Impact Sensing Module - Right - Signal (AJ7)
C8 TAN 2133 Side Impact Sensing Module - Right - Voltage (AJ7)
Inflatable Restraint Sensing and Diagnostic Module (SDM) (Buick)

GM470412Courtesy of GENERAL MOTORS CORP.
Connector Part Information
  • 15354773
  • 34-Way F Micro-Pack (YEL)
Pin Wire Color Circuit No. Function
A1 YEL 1139 Ignition 1 Voltage
A2 BLK/WHT 9238 Driver Seat Position Switch Signal
A3 YEL 3025 I/P Module - Stage 1 - High Control
A4 DK BLU 1128 Class 2 Serial Data
A5 - - Not Used
A6 TAN 3021 Steering Wheel Module - Stage 1 - High Control
A7 ORN 3020 Steering Wheel Module - Stage 1 - Low Control
A8 ORN 3024 I/P Module - Stage 1 - Low Control
A9 BLK 9363 Low Reference
A10-A14 - - Not Used
A15 BLK/WHT 238 Seat Belt Switch - Left
A16 - - Not Used
A17 BLK 9362 Front Passenger Seat Position Switch Signal
A18 BLK/WHT 1751 Ground
B1 BRN 2137 Side Impact Module - LF High Control
B2 YEL/BLK 2138 Side Impact Module - LF Low Control
B3 LT GRN 2136 Side Impact Module - RF Low Control
B4 BLK/WHT 2135 Side Impact Module - RF High Control
B5 YEL 2131 Side Impact Sensing Module - Left - Voltage
B6 WHT 2132 Side Impact Sensing Module - Left - Signal
B7 DK GRN 2134 Side Impact Sensing Module - Right - Signal
B8 TAN 2133 Side Impact Sensing Module - Right - Voltage
C1 WHT 3023 Steering Wheel Module - Stage 2 - High Control
C2 PNK 3022 Steering Wheel Module - Stage 2 - Low Control
C3 PPL 3026 I/P Module - Stage 2 - Low Control
C4 GRY 3027 I/P Module - Stage 2 - High Control
C5 GRY 9904 Inflatable Restraint Front End Discriminating Sensor - Left - Voltage
C6 YEL 9901 Inflatable Restraint Front End Discriminating Sensor - Left - Signal
C7 BLK 9906 Inflatable Restraint Front End Discriminating Sensor - Right - Signal
C8 ORN 9902 Inflatable Restraint Front End Discriminating Sensor - Right - Voltage
Inflatable Restraint Side Impact Module - Left (AJ7)

GM646194Courtesy of GENERAL MOTORS CORP.
Connector Part Information
  • 12186799
  • 2-Way M 280 Series (YEL)
Pin Wire Color Circuit No. Function
A BRN 2137 Side Impact Module - LF High Control
B YEL/BLK 2138 Side Impact Module - LF Low Control
Inflatable Restraint Side Impact Module Connector End View - Right (AJ7)

GM646194Courtesy of GENERAL MOTORS CORP.
Connector Part Information
  • 12186799
  • 2-Way M 280 Series (YEL)
Pin Wire Color Circuit No. Function
A BLK/WHT 2135 Side Impact Module - RF High Control
B LT GRN 2136 Side Impact Module - RF Low Control
Inflatable Restraint Side Impact Sensor Connector End View - Left (AJ7)

GM684970Courtesy of GENERAL MOTORS CORP.
Connector Part Information
  • 15356726
  • 2-Way F GT 150 Sealed 4.0 (YEL)
Pin Wire Color Circuit No. Function
A WHT 2132 Side Impact Sensing Module - Left - Signal
B YEL 2131 Side Impact Sensing Module - Left - Voltage
Inflatable Restraint Side Impact Sensor Connector End View - Right (AJ7)

GM684970Courtesy of GENERAL MOTORS CORP.
Connector Part Information
  • 15356726
  • 2-Way F GT 150 Sealed 4.0 (YEL)
Pin Wire Color Circuit No. Function
A DK GRN 2134 Side Impact Sensing Module - Right - Signal
B TAN 2133 Side Impact Sensing Module - Right - Voltage
Inflatable Restraint Steering Wheel Module Coil C1 Connector End View - Pontiac

GM684803Courtesy of GENERAL MOTORS CORP.
Connector Part Information
  • 12110149
  • 2-Way M Metri-Pack 280 Series Sealed (YEL)
Pin Wire Color Circuit No. Function
A WHT 347 Steering Wheel Module High Control
B DK GRN 348 Steering Wheel Module Low Control
Inflatable Restraint Steering Wheel Module Coil C1 Connector End View - Buick

GM594476Courtesy of GENERAL MOTORS CORP.
Connector Part Information
  • 15336477
  • 4-Way M Metri-Pack 280 Series (YEL)
Pin Wire Color Circuit No. Function
A1 TAN 3021 Steering Wheel Module - Stage 1 - High Control
A2 BRN 3020 Steering Wheel Module - Stage 1 - Low Control
B1 WHT 3023 Steering Wheel Module - Stage 2 - High Control
B2 PNK 3022 Steering Wheel Module - Stage 2 - Low Control
Seat Belt Pretensioner Connector End View - Left (Buick)

GM295469Courtesy of GENERAL MOTORS CORP.
Connector Part Information
  • 12110505
  • Metri-Pack 150 Series
Pin Wire Color Circuit No. Function
A BLK/WHT 2118 Seat Belt Pretensioner - Left - High Control
B ORN/BLK 2119 Seat Belt Pretensioner - Left - Low Control
Seat Belt Pretensioner Connector End View - Right (Buick)

GM295469Courtesy of GENERAL MOTORS CORP.
Connector Part Information
  • 12110505
  • Metri-Pack 150 Series
Pin Wire Color Circuit No. Function
A LT GRN 2116 Seat Belt Pretensioner - Right - High Control
B ORN 2117 Seat Belt Pretensioner - Right - Low Control