LEMON Manuals: Even more car manuals for everyone
Home >> GMC >> 2002 >> Jimmy 2D Utility, Part Time, Automatic >> Repair and Diagnosis >> External Pages >> Different car >> Section 1012 (Wiper System & Washer System) >> Component Locator >> Wiper/Washer System Component Views

Wiper/Washer System Component Views

WARNING: This page is about a different car, the 2004 GMC Sierra, 2004 GMC Cab & Chassis Sierra, 2004 Chevrolet Silverado, and 2004 Chevrolet Cab & Chassis Silverado. However, it is still accessible from the selected car via links, so may be relevant.
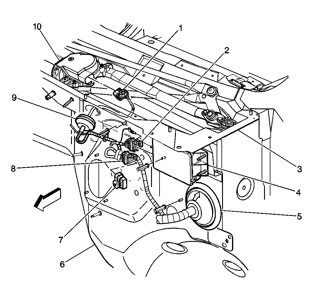
Fig 1: Left Rear Underhood Component Views - Front of Dash
GM310036Courtesy of GENERAL MOTORS CORP.
Callout Component Name
1 Windshield Wiper Motor Module Electrical Connector
2 Cruise Control Module Electrical Connector
3 Plenum Panel
4 Cruise Control Module
5 Pass - Through 100 (P100)
6 Dash Panel
7 Cap For Connector, Without Cruise Control
8 Cruise Control Module Electrical Connector
9 Harness - Pass Through
10 Windshield Wiper Motor Module
Fig 2: Windshield Washer Reservoir Component Views
GM668878Courtesy of GENERAL MOTORS CORP.
Callout Component Name
1 Forward Lamp Harness
2 Windshield Washer Reservoir
3 Windshield Washer Fluid Pump Connector
4 Washer Fluid Level Switch
5 Radiator Support
Fig 3: Steering Column Component Views
GM349986Courtesy of GENERAL MOTORS CORP.
Callout Component Name
1 Hazard Button
2 Multi-Function Lever
3 Cruise Control Switches
4 Tilt Steering Actuator
5 Inflatable Restraint Harness
6 C201 Inline Connector