LEMON Manuals: Even more car manuals for everyone
Home >> GMC >> 2001 >> Yukon Denali >> Repair and Diagnosis >> Transmission >> Automatic Trans >> Shift Lock Control System >> Schematic Wiring Diagrams >> Shift Lock Control System Wiring Schematics

Shift Lock Control System Wiring Schematics

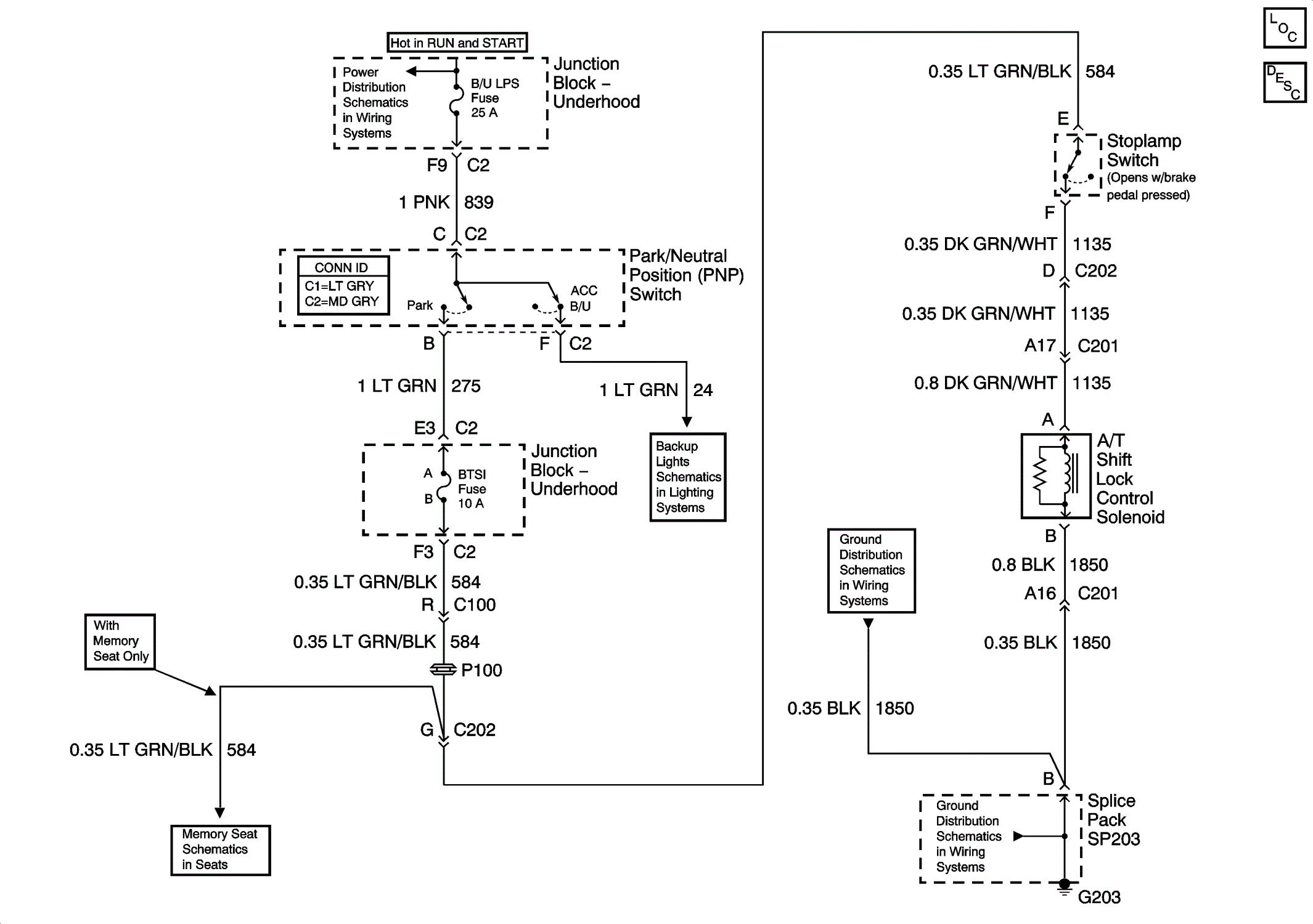
Fig 1: Shift Lock Control System Wiring Schematic
GM711297Courtesy of GENERAL MOTORS COMPANY