LEMON Manuals: Even more car manuals for everyone
Home >> GMC >> 1996 >> Forward Control 4.3 W >> Repair and Diagnosis (Single Page) >> Engine Performance >> System >> Engine Controls - Tests W/Codes - P Series (Gasoline) >> Diagnostic Trouble Codes >> DTC P1380 - Electronic Brake Control Module (EBCM) DTC Detected Rough Road Data Unusable >> Diagnostic Procedures

Diagnostic Procedures

  1. Perform On-Board Diagnostic (OBD) System Check. After performing OBD system check, go to next step.
  2. Turn ignition off. Disconnect VCM and EBCM connectors. Using DVOM, check for open in serial data circuit between VCM and EBCM. If a problem is found, go to next step. If a problem was not found, see appropriate ANTI-LOCK BRAKE SYSTEM article in the BRAKES section.
  3. Repair as necessary. Go to next step.
  4. Using scan tool, select DTC, CLEAR INFO. Start and warm engine to normal operating temperature. Select DTC, SPECIFIC, then enter DTC P1380. Operate vehicle within the conditions for setting this DTC. If scan tool indicates that this test ran and passed, go to next step. If scan tool does not indicate that this test ran and passed, DTC is intermittent.
  5. Using scan tool, select CAPTURE INFO, REVIEW INFO. If any undiagnosed DTC(s) are displayed, go to applicable DTC test.
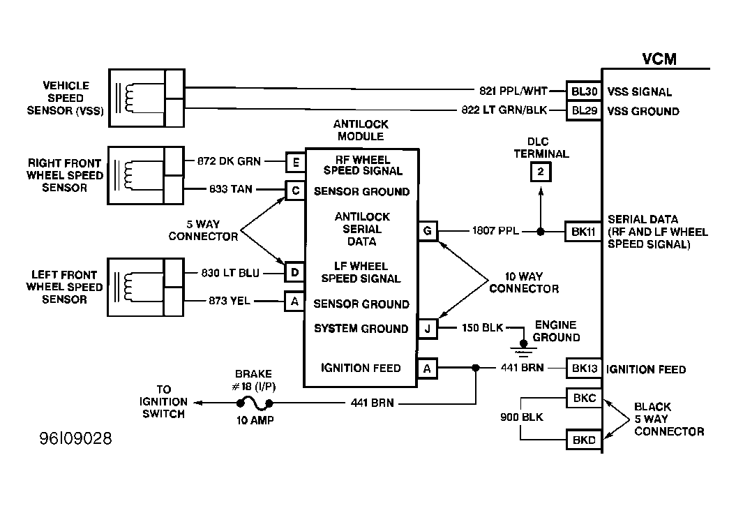
Fig 1: DTC P1380 Schematic
G96I09028