LEMON Manuals: Even more car manuals for everyone
Home >> GMC >> 1996 >> Forward Control 4.3 W >> Repair and Diagnosis (Single Page) >> Engine Performance >> System >> Engine Controls - System/Component Tests - P Series (Gasoline) >> Miscellaneous Pcm/VCM Controls >> Transmission (C-8) >> Converter Lock-Up Signal From PCM/VCM

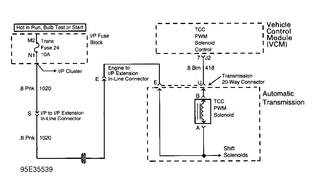
Converter Lock-Up Signal From PCM/VCM

  1. Warm engine to operating temperature. Raise vehicle and support drive wheels. Support suspension where necessary to prevent damage to drive axles.
  2. Connect a test light to battery voltage. Touch TCC control driver terminal with test light. See Figure. Accelerate vehicle to 45 MPH and note test light. If test light does not illuminate, problem is a faulty PCM/VCM connector or PCM/VCM. On some models, lock-up signal may be checked at Data Link Connector (DLC) terminal "F" instead of at PCM/VCM terminal.