LEMON Manuals: Even more car manuals for everyone
Home >> GMC >> 1995 >> Forward Control 6.5 Y, Automatic >> Repair and Diagnosis >> Engine Performance >> System >> Engine Controls - Tests W/Codes - 6.5L Diesel. >> Diagnostic Trouble Code Charts >> DTC 49, Service Throttle Soon Light Circuit Fault >> Diagnostic Aids

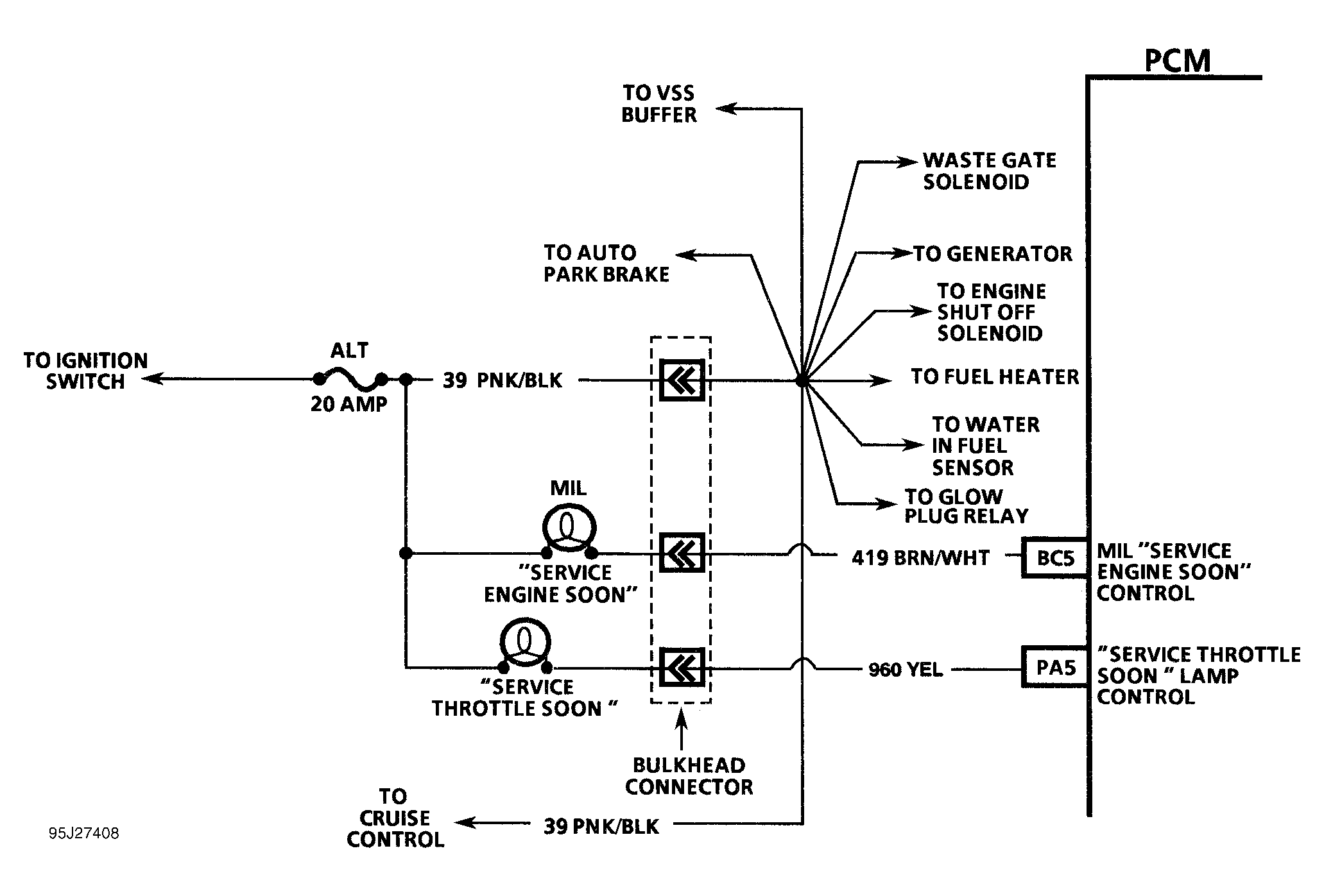
Diagnostic Aids

Check for a faulty bulb or fuse. An open in SERVICE THROTTLE SOON light control circuit will cause DTC 49 to set.

Fig 1: DTC 49 Schematic ("G" Series) Service Throttle Soon Light Circuit Fault
G95I27407
Fig 2: DTC 49 Schematic ("P" Series) Service Throttle Soon Light Circuit Fault
G95J27408
Fig 3: DTC 49 Flow Chart (All Models) Service Throttle Soon Light Circuit Fault
G94C65682