LEMON Manuals: Even more car manuals for everyone
Home >> GMC >> 1995 >> Forward Control 6.5 Y, Automatic >> Repair and Diagnosis >> Engine Performance >> System >> Engine Controls - Tests W/Codes - 6.5L Diesel. >> Diagnostic Trouble Code Charts >> DTC 28, Transmission Range Pressure Switch Circuit Fault >> Diagnostic Aids

Diagnostic Aids

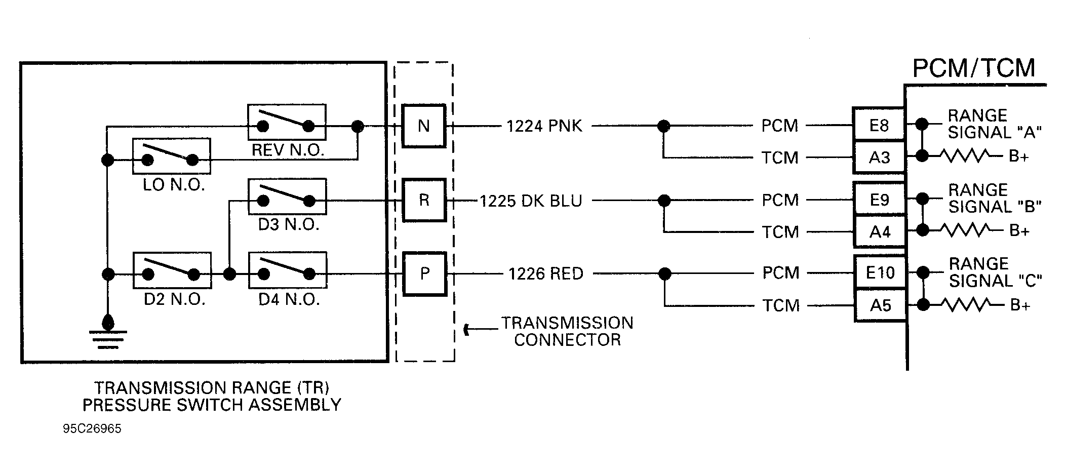
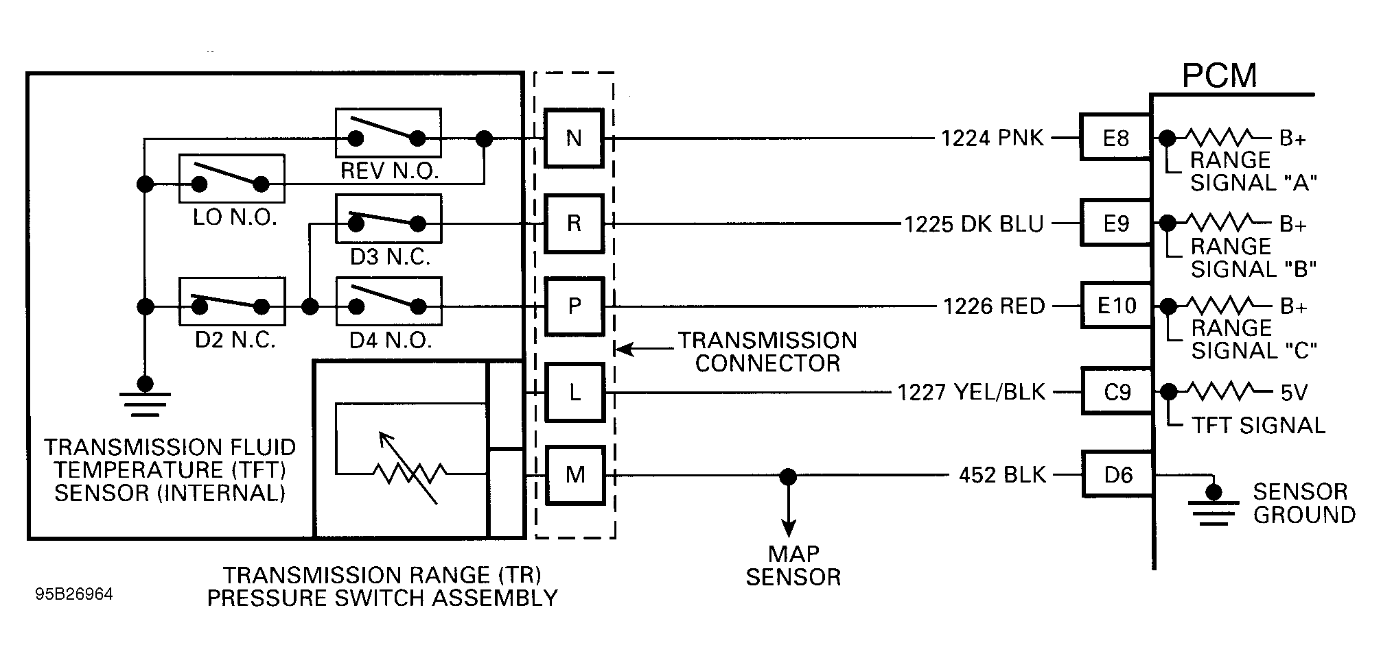
DTC 28 will set if PCM detects one of 2 illegal combinations. See TRANS. RANGE PRESSURE SWITCH COMBINATIONS table. Check all wiring connectors for proper terminal tension. For current DTC 28, range signal will default to D4 while A/B/C range values continue to read actual trans. range pressure switch output for each range selection.

TRANSMISSION RANGE PRESSURE SWITCH COMBINATIONS (4L60-E) (1)(2)

Application A B C
Park Off On Off
Reverse On On Off
Neutral Off On Off
4th Off On On
3rd Off Off On
2nd Off Off Off
1st On Off Off
Illegal On Off On
Illegal On On On
(1) On - Battery voltage.
(2) Off - Zero volt.
TRANSMISSION RANGE PRESSURE SWITCH COMBINATIONS (4L80-E) (1)(2)

Application A B C
Park On Off On
Reverse Off Off On
Neutral On Off On
4th On Off Off
3rd On On Off
2nd On On On
1st Off On On
Illegal Off On Off
Illegal Off Off Off
(1) On - Battery voltage.
(2) Off - Zero volt.
Fig 1: DTC 28 Schematic (4L60-E) Transmission Range Pressure Switch Circuit Fault
G95B26964
Fig 2: DTC 28 Schematic (4L80-E) Transmission Range Pressure Switch Circuit Fault
G95C26965
Fig 3: DTC 28 Flow Chart (All Models) Transmission Range Pressure Switch Circuit Fault
G95E14021