LEMON Manuals: Even more car manuals for everyone
Home >> GMC >> 1995 >> Forward Control 4.3 Z, Automatic >> Repair and Diagnosis >> Engine Performance >> System >> Engine Controls - Tests W/Codes - 6.5L Diesel. >> Diagnostic Trouble Code Charts >> DTC 82, 1-2 Shift Solenoid Circuit Fault >> Diagnostic Aids

Diagnostic Aids

Check all connections at transmission. An open in ignition feed circuit can cause multiple DTCs to set.

Fig 1: DTC 82 Schematic ("G" Series - 4L60-E) 1-2 Shift Solenoid Circuit Fault
G95C27427
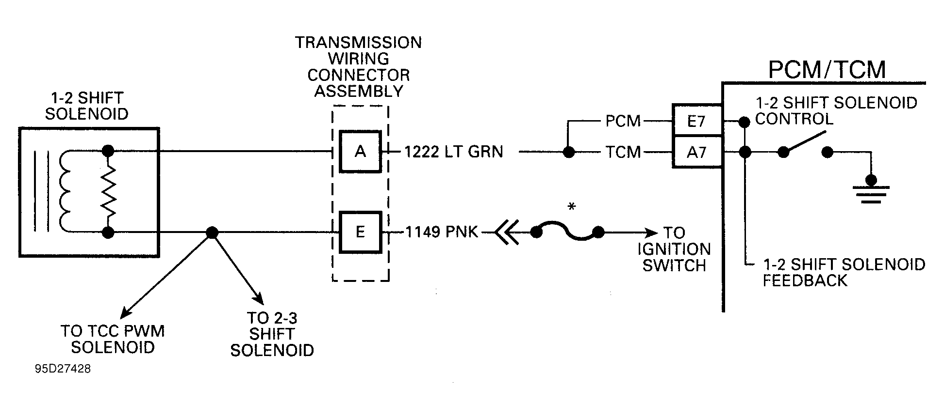
Fig 2: DTC 82 Schematic ("G" & "P" Series - 4L80-E) 1-2 Shift Solenoid Circuit Fault
G95D27428
Fig 3: DTC 82 Flow Chart (All Models) 1-2 Shift Solenoid Circuit Fault
G94H31952