LEMON Manuals: Even more car manuals for everyone
Home >> GMC >> 1995 >> Forward Control 4.3 Z, Automatic >> Repair and Diagnosis >> Engine Performance >> System >> Engine Controls - Tests W/Codes - 6.5L Diesel. >> Diagnostic Trouble Code Charts >> DTC 41, Brake Switch Circuit Fault - "P" Series >> Diagnostic Aids

Diagnostic Aids

Check customer driving habits and/or unusual traffic conditions (i.e. stop and go expressway traffic).

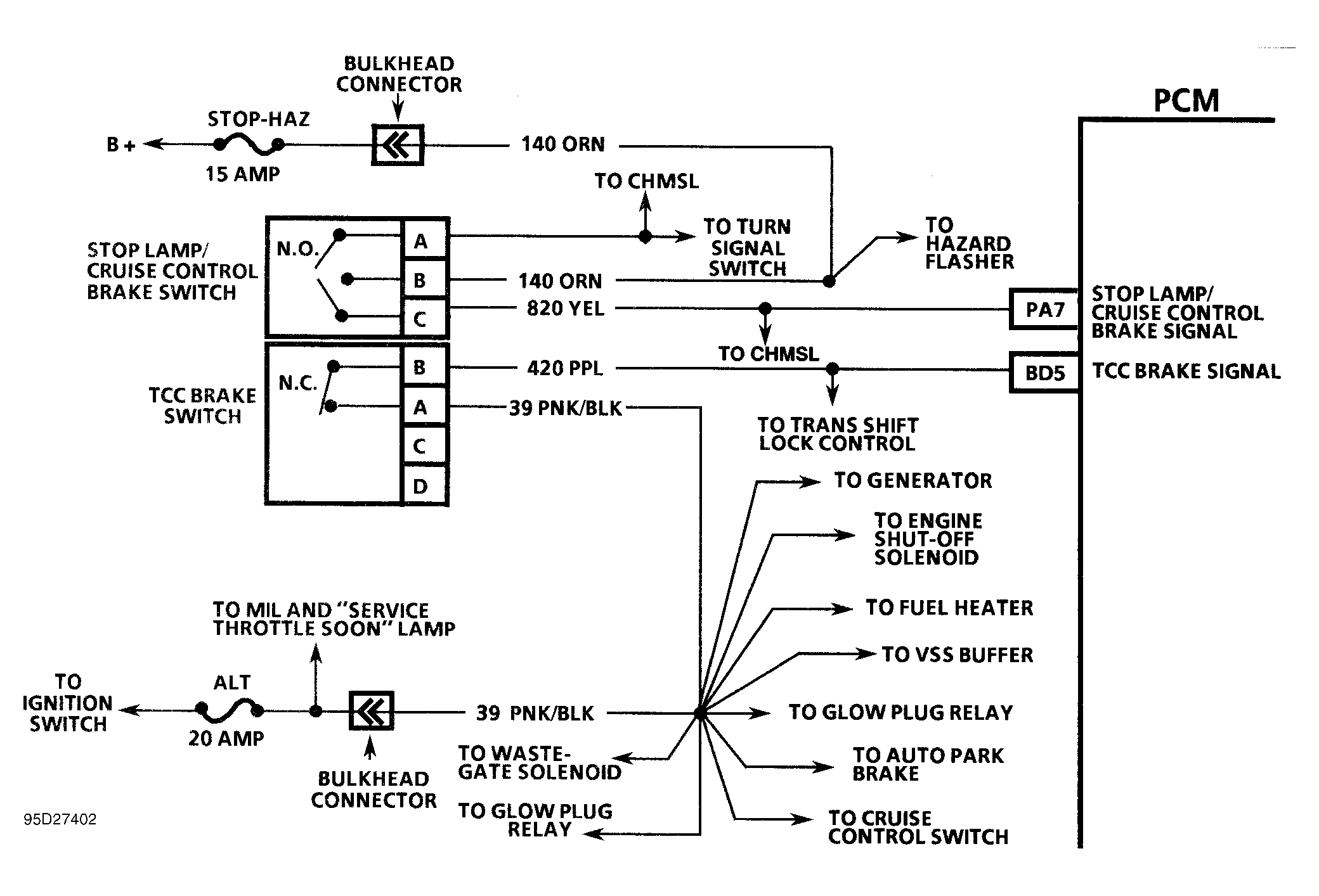
Fig 1: DTC 41 Schematic ("P" Series) Brake Switch Circuit Fault
G95D27402
Fig 2: DTC 41 Flow Chart ("P" Series) Brake Switch Circuit Fault
G94J65671