LEMON Manuals: Even more car manuals for everyone
Home >> GMC >> 1995 >> Forward Control 4.3 Z, Automatic >> Repair and Diagnosis >> Engine Performance >> System >> Engine Controls - Tests W/Codes - 6.5L Diesel. >> Diagnostic Trouble Code Charts >> DTC 27, App No. 2 Circuit Range Fault >> Diagnostic Aids

Diagnostic Aids

Scan tester displays APP No. 2 position in volts, and should display about 4.5 volts with throttle closed and ignition on or engine at idle. Voltage should decrease at a steady rate as throttle is moved toward WOT. Also, 90 percent pedal travel is acceptable for correct APP operation. Monitor APP No. 2 sensor while applying accelerator pedal with engine off and ignition on. Display should vary from about 4.5 volts with throttle closed, to about 1.5 volts with throttle at WOT.

Fig 1: DTC 27 Schematic ("G" Series) APP NO. 2 Circuit Range Fault
G95B26956
Fig 2: DTC 27 Schematic ("P" Series) APP NO. 2 Circuit Range Fault
G95C26957
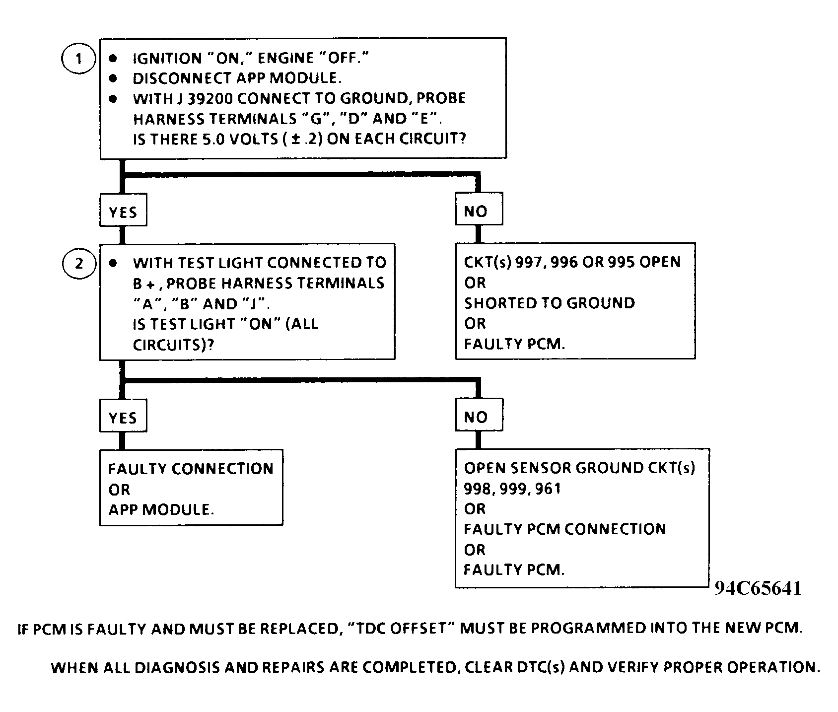
Fig 3: DTC 27 Flow Chart (All Models) APP NO. 2 Circuit Range Fault
G94C65641